EasyManua.ls Logo

Mitsubishi Electric A173UHCPU - Page 55

Mitsubishi Electric A173UHCPU
389 pages
To Next Page IconTo Next Page
To Next Page IconTo Next Page
To Previous Page IconTo Previous Page
To Previous Page IconTo Previous Page
Loading...
3. POSITIONING SIGNALS
3 24
2) When positioning control is executed by turning ON the JOG operation
command (M3202+20n or M3203+20n), the start accept flag goes OFF
when positioning is stopped by turning the JOG operation command OFF.
3) The start accept flag is ON while the manual pulse generator enable flag
(M2051 to M2053: ON) is ON.
The start accept flag is OFF while the manual pulse generator enable
flag (M2051 to M2053: OFF) is OFF.
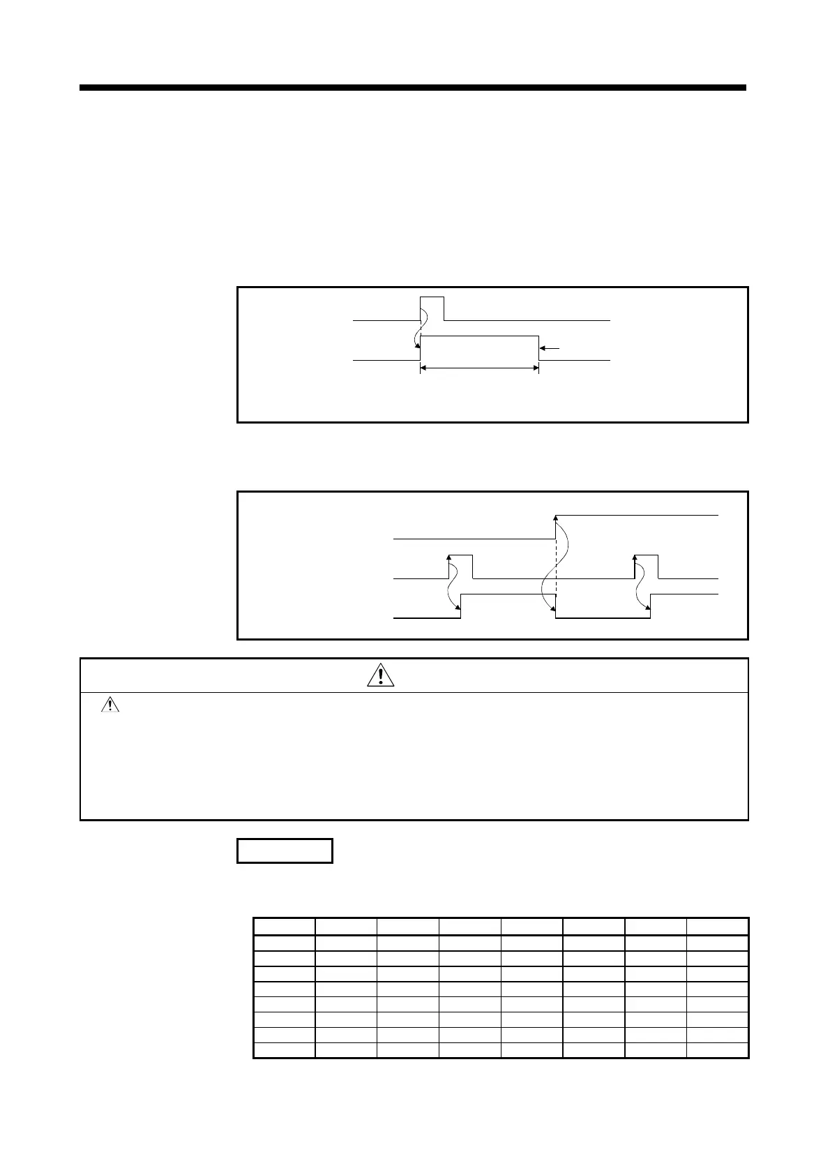
4) The start accept flag is ON during a current value change initiated by a
CHGA instruction. It goes OFF on completion of the current value change.
OFF
ON
CHGA
instruction
Start accept
instruction
(M2001n)
Current value change
Processing in progress
Goes OFF on completion of
current value change processing
5) When M2000 is OFF, execution of a SVST instruction causes the start
accept flag to come ON; the flag goes OFF when M2000 comes ON.
OFF
OFF
ON
ON
PLC READY
(M2000)
SVST instruction
Start accept flag
CAUTION
The user must not turn start accept flags ON/OFF.
If a start accept flag that is ON is switched OFF with the sequence program or a peripheral
device, no error will occur but the positioning operation will not be reliable. Depending on the
type of machine, it might operate in an unanticipated manner.
If a start accept flag that is OFF is switched ON with the sequence program or a peripheral
device, no error will occur at that time, but the next time an attempt is made to start the axis an
error will occur during a start accept flag being ON and the axis will not start.
REMARK
A numerical value corresponding to an axis number is entered for "n" in
"M2001 + n".
Axis No. n Axis No. n Axis No. n Axis No. n
1 0 9 8 17 16 25 24
2 1 10 9 18172625
3 2 11 10 19 18 27 26
4 3 12 11 20 19 28 27
5 4 13 12 21 20 29 28
6 5 14 13 22 21 30 29
7 6 15 14 23 22 31 30
8 7 16 15 24 23 32 31

Table of Contents

Other manuals for Mitsubishi Electric A173UHCPU

Related product manuals