EasyManua.ls Logo

Mitsubishi Electric A173UHCPU - Page 59

Mitsubishi Electric A173UHCPU
389 pages
To Next Page IconTo Next Page
To Next Page IconTo Next Page
To Previous Page IconTo Previous Page
To Previous Page IconTo Previous Page
Loading...
3. POSITIONING SIGNALS
3 28
(11) Manual pulse generator enable flag (M2051 to M2053)..........Signal sent from
SCPU to PCPU
The manual pulse generator enable flags set the enabled or disabled status
for positioning with the pulse input from the manual pulse generators
connected to P1 to P3
(Note)
of the A273EX or A172SENC.
ON ........Positioning control is executed in accordance with the input from
the manual pulse generators.
OFF........Positioning with the manual pulse generators is not possible
because the input from the manual pulse generators is ignored.
REMARK
(Note): For details on the P1 to P3 connector of the A273EX or A172SENC,
refer to the Motion Controller User's Manual.
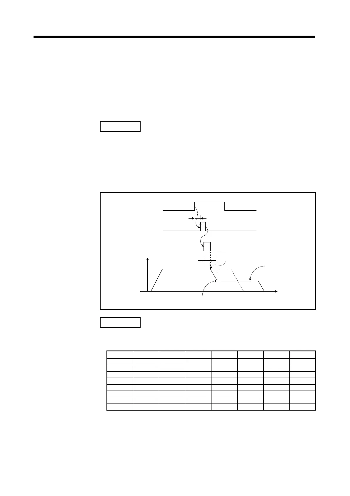
(12) Speed change flags (M2061+n).............................Signal from PCPU to SCPU
The speed change flags come ON when a speed change is executed in
response to a control change (CHGV) instruction in the sequence program:
use them for interlocks in speed change programs.
OFF
OFF
ON
Delay due to sequence program
ON
0 to 4ms
Speed
Speed after
speed change
t
S
p
eed chan
g
e com
p
leted
Speed change
command
Speed change flag
Set speed
CHGV instruction
REMARK
A numerical value corresponding to an axis number is entered for "n" in
"M2061+ n".
Axis No. n Axis No. n Axis No. n Axis No. n
1 0 9 8 17 16 25 24
2 1 10 9 18172625
3 2 11 10 19 18 27 26
4 3 12 11 20 19 28 27
5 4 13 12 21 20 29 28
6 5 14 13 22 21 30 29
7 6 15 14 23 22 31 30
8 7 16 15 24 23 32 31

Table of Contents

Other manuals for Mitsubishi Electric A173UHCPU

Related product manuals