EasyManua.ls Logo

Mitsubishi ASX 2016

Mitsubishi ASX 2016
452 pages
To Next Page IconTo Next Page
To Next Page IconTo Next Page
To Previous Page IconTo Previous Page
To Previous Page IconTo Previous Page
Loading...
RHD
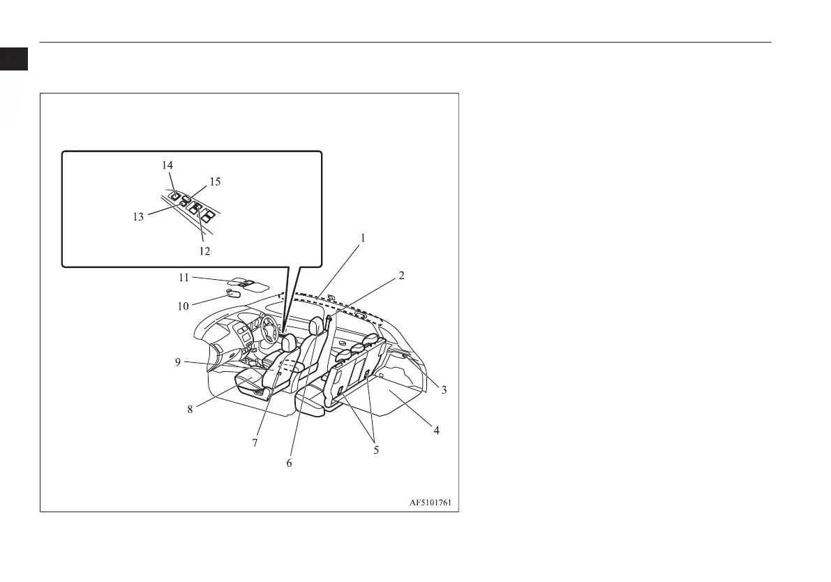
1. Supplemental restraint system - curtain airbag* p. 4-33
2. Seat belts p. 4-09
Adjustable seat belt anchor p. 4-11
3. Luggage room lamp p. 7-76
4. Luggage floor box* p. 7-81
5. Tether anchorages for child restraint system p. 4-22
6. Head restraints p. 4-07
7. Heated seat switch* p. 4-06
8. Front seat p. 4-03
Heated seat* p. 4-06
9. Supplemental restraint system - side airbag (for front seats)*
p. 4-33
10. Inside rear-view mirror p. 6-08
11. Sunshade illumination dimming control switch* p. 7-76
12. Electric window control switch p. 3-40
13. Lock switch p. 3-40
14. Electric remote-controlled outside rear-view mirrors switch
p. 6-10
15. Central door lock switch p. 3-26
Interior
1-08
OGAE15E5
Overview
1

Table of Contents

Related product manuals