EasyManua.ls Logo

Monogram ZET1PL1SS - Control Features; Oven Mode Knob Operation; Temperature Knob Operation; Mini-Knob Functions

Monogram ZET1PL1SS
53 pages
Print Icon
To Next Page IconTo Next Page
To Next Page IconTo Next Page
To Previous Page IconTo Previous Page
To Previous Page IconTo Previous Page
Loading...
– 6 –
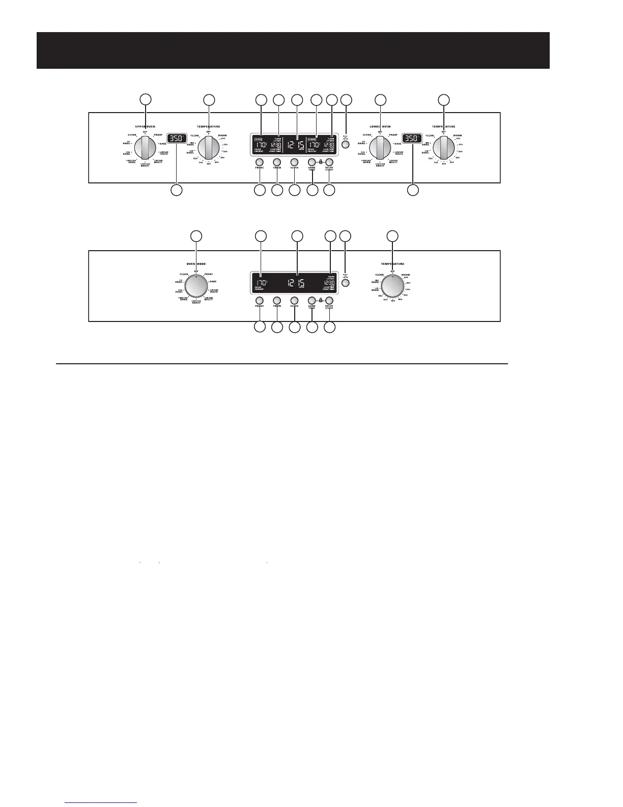
Control Features
FF
Double oven control – Pro style shown (Appearance may vary)
Single Oven control – Integrated style shown (Appearance may vary)
1 Oven Mode knob – Turn to select:
PROOF Maintains a warm environment
useful for rising yeast-leavened products.
BAKE Select for traditional baking.
CONV BAKE 1 RACK Use for convection
baking on one rack.
CONV BAKE MULTI Use for convection
baking on multiple racks.
CONV ROAST Use for convection roasting.
CONV BROIL Use for convection broiling.
DUAL BROIL Select to provide traditional
broiling for a larger food quantity.
STD BROIL Select to provide traditional
broiling for a smaller food quantity.
CLEAN Select for the self-cleaning
function. See the Self-Cleaning Oven section.
2 Temperature knob – Turn to select:
Use to set baking temperatures from 200°F
to 550°F.
WARM Keeps already cooked foods warm
for up to 2 hours after the cooking function
is finished.
LOW BROIL A lower broiling temperature
is automatically set.
HIGH BROIL A higher broiling
temperature is automatically set.
CLEAN The self-clean temperature is
automatically set.
3 Mini-Knob
Turn to select and push to enter PROBE,
TIMER, CLOCK, COOK TIME and DELAY
START settings.
4 PROBE Push to select the probe to cook
food to a set internal temperature. Turn and
push the Mini-Knob to set.
5 TIMER Push to select the timer function.
The timer does not control oven operations.
The timer can time up to 11 hours and 59
minutes. Turn and push the Mini-Knob
to set.
6 CLOCK Push to enter the time of day.
Turn and push the Mini-Knob to set.
7 COOK TIME Push to enter the desired
length of cooking time for baking (or
roasting), convection baking and convection
roasting. Turn and push the Mini-Knob
to set.
8 DELAY START Push to delay the start
of cooking or the self-clean cycle. Turn and
push the Mini-Knob to set the time you want
the oven to start.
9 Temperature Display Shows the oven set
temperature or probe set temperature and
if the oven is preheating. (On some double
wall oven models, UPPER and LOWER are
displayed above their respective settings.)
NOTE: On some wall oven models, the set
temperature shows in displays between their
respective control knobs.
10 Timing and Cleaning Status Display If set,
shows the remaining COOK TIME and the
DELAY START time. Lights indicate the
status of the self-clean cycle.
11 Time of Day Display
Shows set time of day.
1
2 10119 10 3 1 2
9
4
5 6 7
8
9
1 9 11 10 3 2
4
5 6 7 8
9
(Continued next page)

Related product manuals