EasyManua.ls Logo

Mooney M20J - Page 175

Mooney M20J
214 pages
Print Icon
To Next Page IconTo Next Page
To Next Page IconTo Next Page
To Previous Page IconTo Previous Page
To Previous Page IconTo Previous Page
Loading...
MOONEY SECTION VII
MODEL M20J AIRPLANE AND SYSTEMS DESCRIPTION
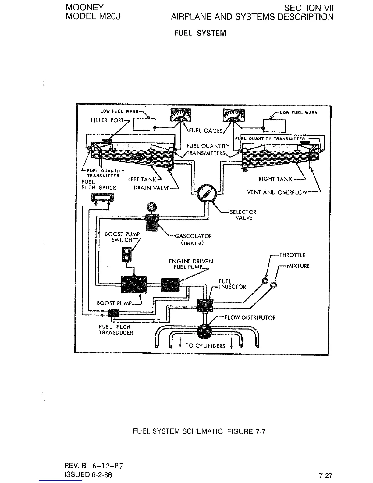
FUEL SYSTEM
TRANSMITTER
FUEL SYSTEM SCHEMATIC FIGURE
7-7
REV.
B
6-12-87
ISSUED
6-2-86

Other manuals for Mooney M20J

Related product manuals