EasyManua.ls Logo

Moore Industries 535 - Digital Input(S); Digital Inputs with a Switch or Relay; Digital Inputs with an Open Collector; Remote Setpoint Option

Moore Industries 535
144 pages
Print Icon
To Next Page IconTo Next Page
To Next Page IconTo Next Page
To Previous Page IconTo Previous Page
To Previous Page IconTo Previous Page
Loading...
Install / Wire
16 Chapter 3 535 User's Manual
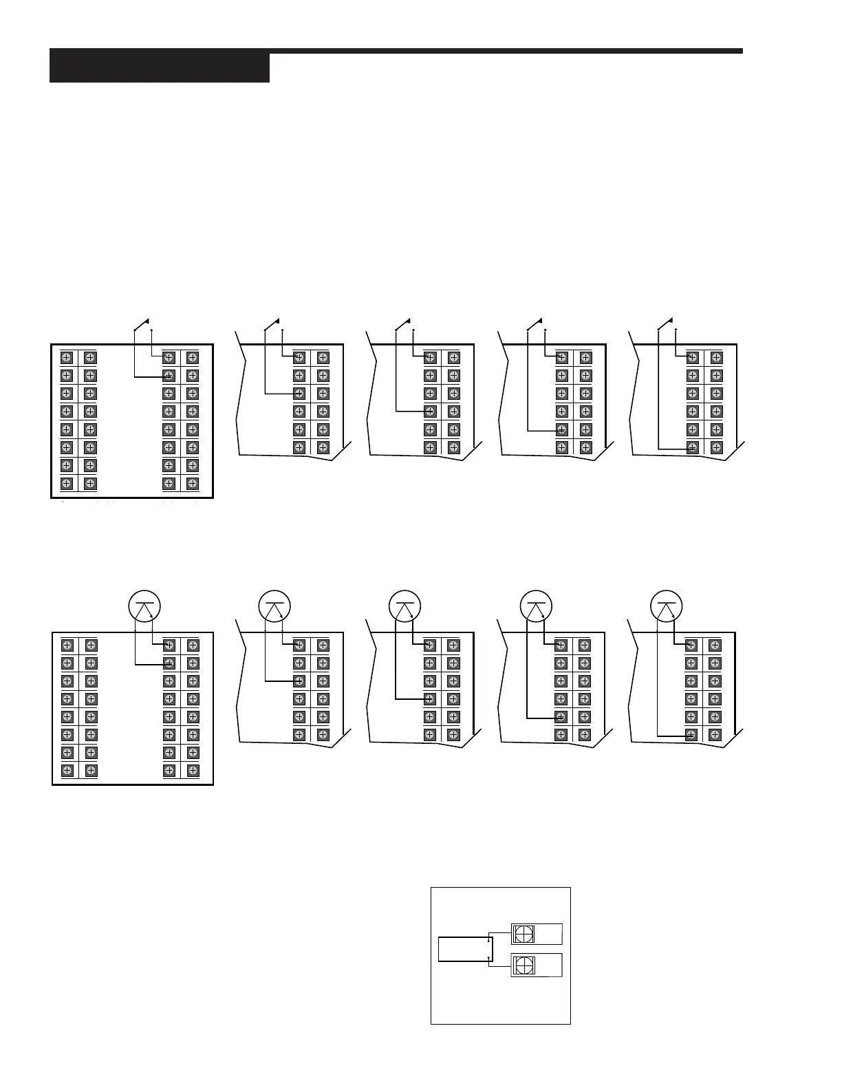
Digital Input(s)
Digital inputs can be activated in three ways: a switch (signal type), closure of
a relay, or an open collector transistor. Digital inputs are only functional when
that option is installed (via hardware) The controller detects the hardware and
supplies the appropriate software menu.
1. Digital Inputs with a switch or relay
Wire the switch/relay between terminal 17 and the specific digital input
terminal (Figure 3.8).
2. Digital Inputs with an Open Collector
An open collector is also called a transistor. Wire the transistor between
terminal 17 and the specified digital input terminal (Figure 3.9)
Remote Setpoint Option
Use terminals 13 and 14 to connect the remote setpoint signal (see Figure 3.10).
Figure 3.10
Remote Setpoint Terminals
14
13
+
+
Source
1
2
3
4
5
6
7
8
16
15
14
13
12
11
10
9
17
18
19
20
21
22
23
24 32
31
30
29
28
27
26
25
DIN
GND
DIN 1
DIN 2
DIN 3
DIN 4
DIN 5
Screws must be tight to ensure electrical connection
17
18
19
20
21
22 30
29
28
27
26
25
DIN
GND
DIN 1
DIN 2
DIN 3
DIN 4
DIN 5
17
18
19
20
21
22 30
29
28
27
26
25
DIN
GND
DIN 1
DIN 2
DIN 3
DIN 4
DIN 5
17
18
19
20
21
22 30
29
28
27
26
25
DIN
GND
DIN 1
DIN 2
DIN 3
DIN 4
DIN 5
17
18
19
20
21
22 30
29
28
27
26
25
DIN
GND
DIN 1
DIN 2
DIN 3
DIN 4
DIN 5
Figure 3.9
Digital Input Wiring with an Open
Collector
1
2
3
4
5
6
7
8
16
15
14
13
12
11
10
9
17
18
19
20
21
22
23
24 32
31
30
29
28
27
26
25
DIN
GND
DIN 1
DIN 2
DIN 3
DIN 4
DIN 5
Sbihlili
17
18
19
20
21
22 30
29
28
27
26
25
DIN
GND
DIN 1
DIN 2
DIN 3
DIN 4
DIN 5
17
18
19
20
21
22 30
29
28
27
26
25
DIN
GND
DIN 1
DIN 2
DIN 3
DIN 4
DIN 5
17
18
19
20
21
22 30
29
28
27
26
25
DIN
GND
DIN 1
DIN 2
DIN 3
DIN 4
DIN 5
17
18
19
20
21
22 30
29
28
27
26
25
DIN
GND
DIN 1
DIN 2
DIN 3
DIN 4
DIN 5
Figure 3.8
Digital input Wiring with a Switch or
Relay

Table of Contents