EasyManua.ls Logo

Moore Industries 535 - Parameters

Moore Industries 535
144 pages
Print Icon
To Next Page IconTo Next Page
To Next Page IconTo Next Page
To Previous Page IconTo Previous Page
To Previous Page IconTo Previous Page
Loading...
28 Chapter 5 535 User's Manual
Controller Set Up
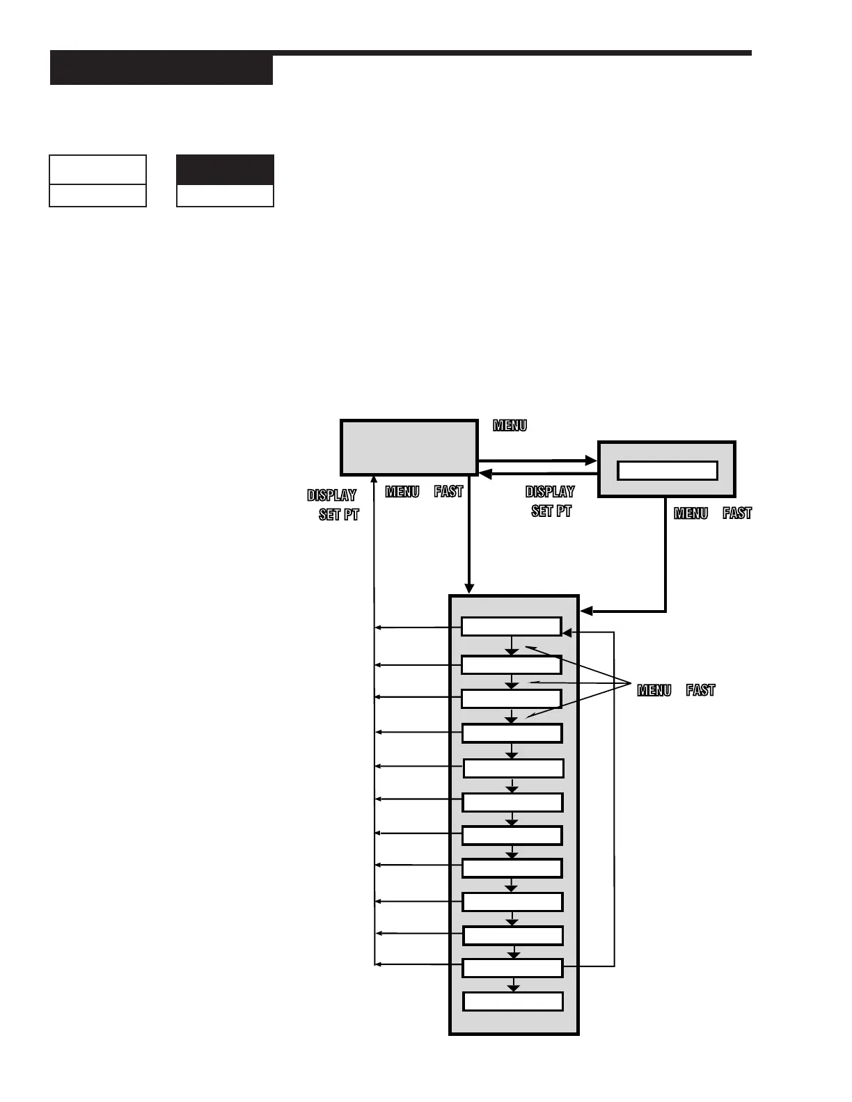
PARAMETERS
Within each menu are parameters for particular control functions. Select val-
ues for each parameter depending on the specific application. Use the MENU
key to access parameters for a particular menu; the parameter name will re-
place the menu name in the 2nd display, and the parameter value will show in
the 3rd display.
This chapter outlines all the available parameters for the 535. Some parameters
are independent of any special configuration, and others are dependent on
the individual configuration. This manual displays these two types of param-
eters differently; refer to Figure 5.2. A special feature of the 535, called Smart
Menus, determines the correct parameters to display for the specific configu-
ration, so not all the listed parameters will appear.
Figure 5.2
Independent vs. Dependent
Parameters
TUNE PT.
AUTOMATIC
CONTACT 1
MANUAL
CONFIG
PV1 INPUT
CUST. LINR.
ALARMS
REM. SETPT.
RETRANS.
SELF TUNE
SPECIAL
SECURITY
SER. COMM.
CONTROL
MANUAL
OPERATION
TUNING
PV2 INPUT
to toggle through
the 12 menu blocks
in SET UP mode
SET UP
for
TUNING mode
for
OPERATION mode
for SET UP
mode
for SET UP
mode
to return to
OPERATION
mode
+
+
+
or
or
Figure 5.3
Configuration Flowchart

Table of Contents