EasyManua.ls Logo

Morso F - Adjustment of the Return Springs

Morso F
67 pages
Print Icon
To Next Page IconTo Next Page
To Next Page IconTo Next Page
To Previous Page IconTo Previous Page
To Previous Page IconTo Previous Page
Loading...
Instruction Manual
MORSØ Mitring Machine
Model F
41
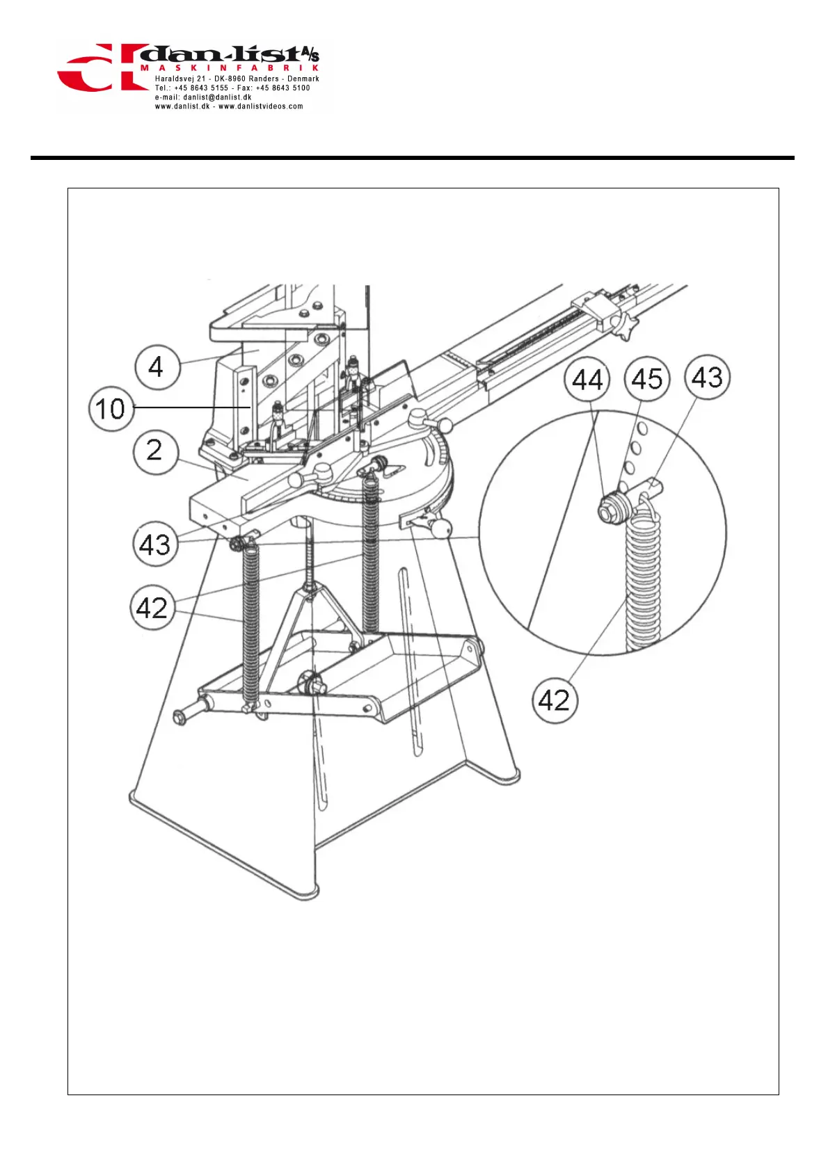
Adjustment of the Return Springs
F-5
Service F-5

Related product manuals