EasyManua.ls Logo

Motorola IMPRES Series - IMPRES Li-Ion Battery Display Sequence

Motorola IMPRES Series
252 pages
To Next Page IconTo Next Page
To Next Page IconTo Next Page
To Previous Page IconTo Previous Page
To Previous Page IconTo Previous Page
Loading...
22
English
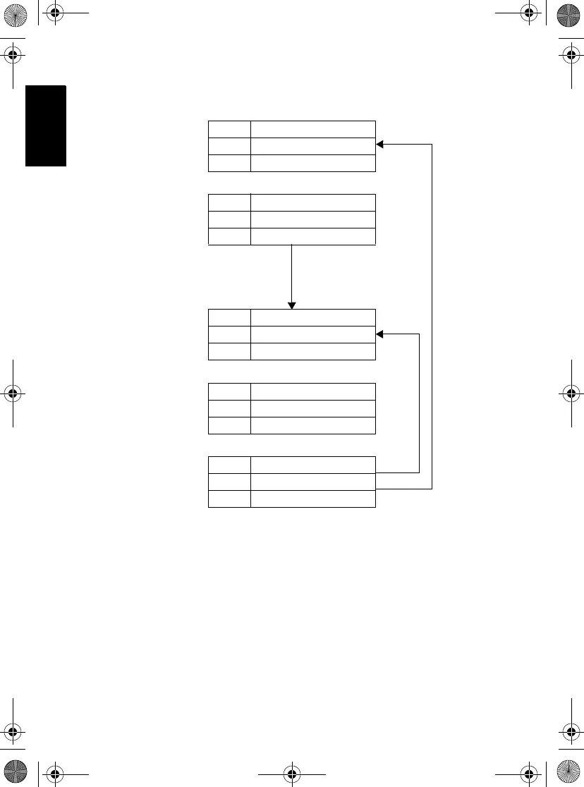
Before Calibration:
LED Defined by Charge State
Line 1 KIT# xxxxxxxx
Line 2 SN: yyyyyyyyyyyy
LED Defined by Charge State
Line 1 KIT# xxxxxxxx
Line 2 yyyyy CHEMISTRY
LED Steady ORANGE
Line 1 DISCHARGE
Line 2
LED Defined by Charge State
Line 1 CALIBRATING
Line 2 BATTERY
LED Defined by Charge State
Line 1 RAPID CHG ENDS
Line 2 IN xx HRS, yy MIN
Every
71.0 sec
Start
(4.0 sec)
(2.0 sec)
(2.0 sec)
(7.0 sec)
(4.0 sec)
Every
13.0 sec
5X
65.0
sec
6866537D22.book Page 22 Wednesday, March 23, 2016 12:53 PM

Table of Contents

Related product manuals