EasyManua.ls Logo

Motorola IMPRES Series - Li-Ion Battery Calibration Display Sequence (After)

Motorola IMPRES Series
252 pages
To Next Page IconTo Next Page
To Next Page IconTo Next Page
To Previous Page IconTo Previous Page
To Previous Page IconTo Previous Page
Loading...
24
English
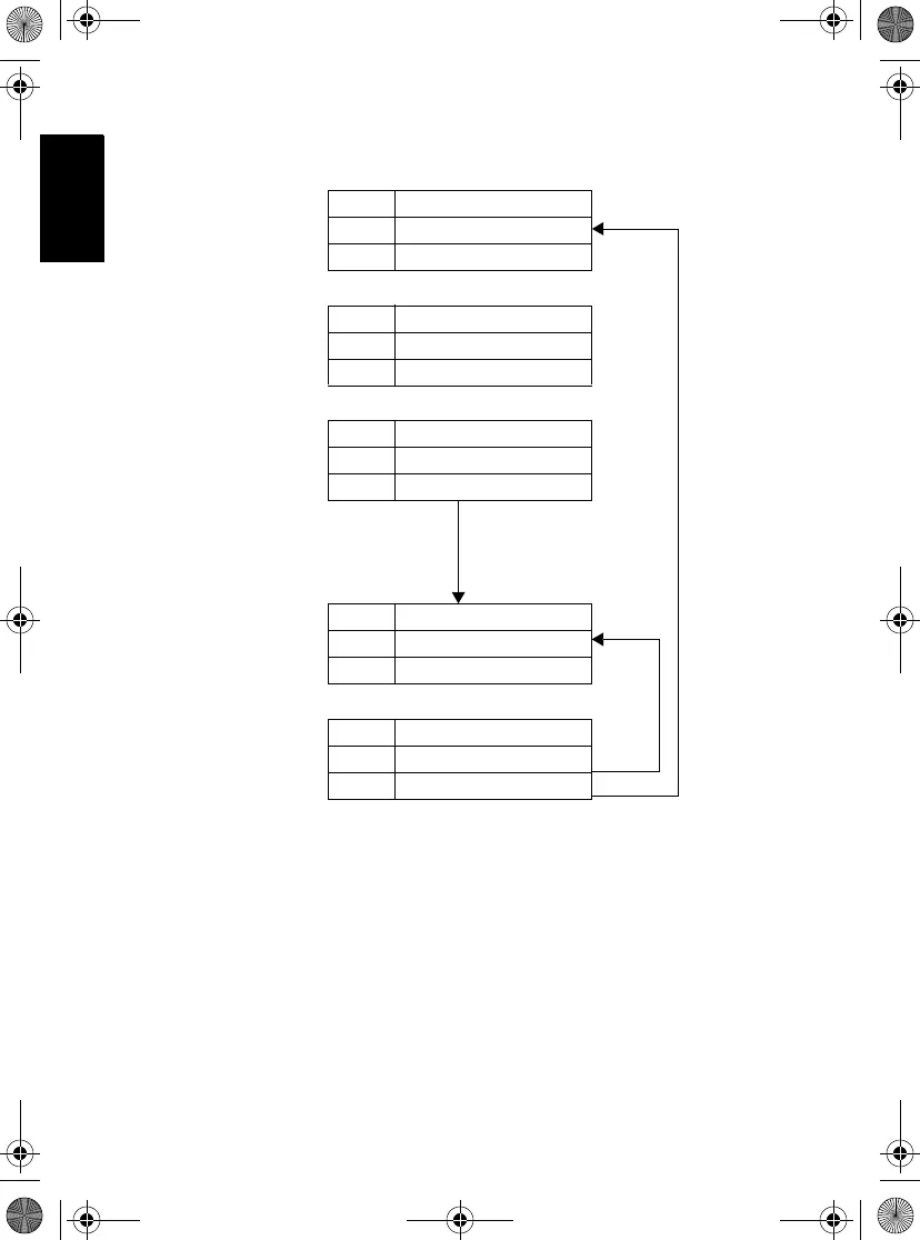
IMPRES Li-Ion Battery Display Sequence
LED Defined by Charge State
Line 1 KIT# xxxxxxxx
Line 2 SN: yyyyyyyyyyyy
LED Defined by Charge State
Line 1 KIT# xxxxxxxx
Line 2 yyyyy CHEMISTRY
LED Defined by Charge State
Line 1 xxxx CYCLES
Line 2 TO RECONDITION
LED Steady RED
Line 1 RAPID CHARGE
Line 2
LED Defined by Charge State
Line 1 xx% RATED CAP.
Line 2 yyyyy mAH zz.z V
Start
(4.0 sec)
(2.0 sec)
(2.0 sec)
(2.0 sec)
(7.0 sec)
Every
53.0 sec
Every
9.0 sec
5X
45.0
sec
6866537D22.book Page 24 Wednesday, March 23, 2016 12:53 PM

Table of Contents

Related product manuals