EasyManua.ls Logo

MSA Chillgard LS - Mounting Dimensions

MSA Chillgard LS
48 pages
Print Icon
To Next Page IconTo Next Page
To Next Page IconTo Next Page
To Previous Page IconTo Previous Page
To Previous Page IconTo Previous Page
Loading...
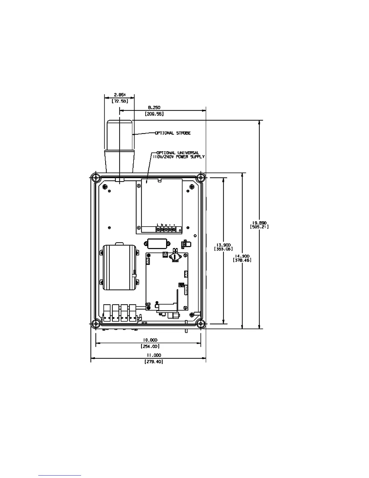
Figure 2-2. Four-Point Pumped Style Mounting Dimensions
2-5

Table of Contents

Related product manuals