EasyManua.ls Logo

MSA Chillgard LS - To the Chillgard LS Refrigerant Monitor

MSA Chillgard LS
48 pages
Print Icon
To Next Page IconTo Next Page
To Next Page IconTo Next Page
To Previous Page IconTo Previous Page
To Previous Page IconTo Previous Page
Loading...
2. Using a multimeter to read the 4-20 mA output, use the Calibration
Box to move the zero up or down, until the unit output reads 4 mA
+0.1 mA with the zero gas applied.
3. Close the regulator valve and remove the zero gas cylinder from
the sample tubing.
4. Apply span gas to the unit for a minimum of five minutes.
5. Using a multimeter to read the 4-20 mA output, use the Calibration
Box to move the span up or down, until the unit output reads 5.6
+0.1 mA with the 100 ppm span gas applied.
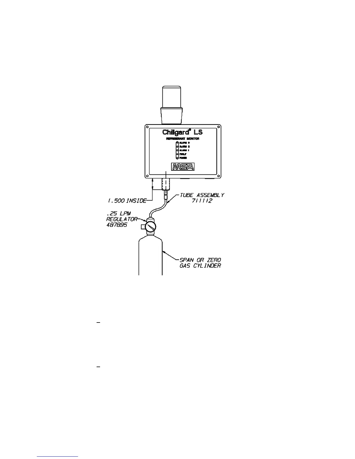
Figure 4-2.
Applying Calibration Gas
to the Chillgard LS Refrigerant Monitor
4-3

Table of Contents

Related product manuals