EasyManua.ls Logo

MTD 31AE660 - Page 23

MTD 31AE660
24 pages
Print Icon
To Next Page IconTo Next Page
To Next Page IconTo Next Page
To Previous Page IconTo Previous Page
To Previous Page IconTo Previous Page
Loading...
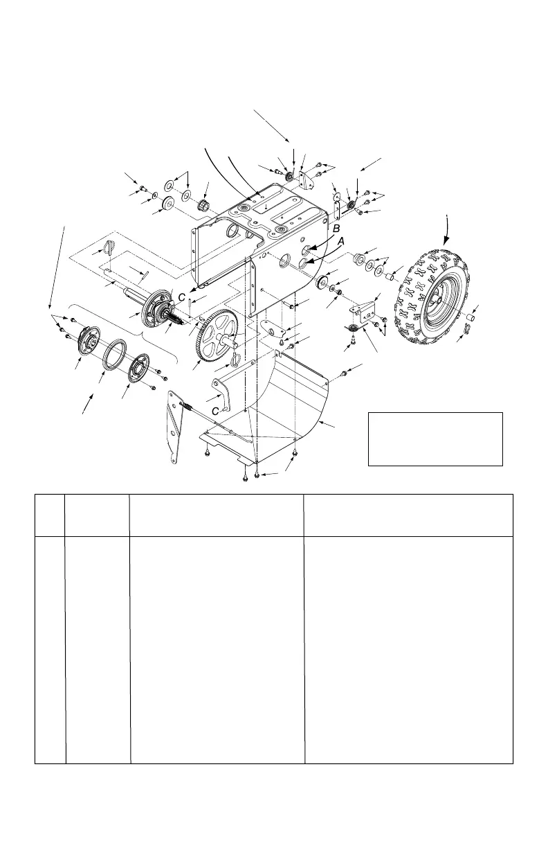
REF PART
NO. NO.
DE DE
RÉF PIÈCE DESCRIPTION DESCRIPTION
1 710-1652 Hex Wash Hd TT Scr. 1/4-20 x .625 Vis taraudee 1/4-20 x .625
2 784-5617A Friction Wheel Plate Plaque de roue de friction
3 684-0021 Friction Wheel Support Brkt. Assy Support de roue du friction
3 735-0243B Friction Wheel Rubber Roue de friction en caoutchouc
4 684-0042C Friction Wheel Assembly Ensemble de roue du friction
5 710-0538 Hex L-Bolt 5/16-18 X .62 Boulon hex 5/16-18 X .62
6 710-0599 Hex Wash S-Tapp Scr 1/4-20 x .50 Vis autotaraudeuse a rondelle hex. de 1/4-20 x 0,5
7 710-0809 Hex Bolt 1/4-20 X 1.25 Boulon hex. 1/4-20 X 1.25
8 710-1652 Hex Wash Hd TT Scr. 1/4-20 x .625 Vis taraudee 1/4-20 x .625
9 712-0116 Hex Nut 3/8-24 Ecrou hexagonal 3/8-24
11 712-0711 Hex Nut 3/8-24 Ecrou hexagonal 3/8-24
12 714-0126 #9 HI-Pro Key 3/16 X 3/4 Dia HT Clavette HI-Pro no 9 - 3/16 X 3/4 diam
13 714-0143 Klik Pin 1/4 Dia X 1.75 Goupille a declique dia 1/4 X 1.75
14 714-0474 Cotter Pin Goupille fendue
15 715-0249 Spring Roll Pin 1.12" Lg. Goupille ressort a spirale 1.12 po de lg.
16 717-1444 Gear Shaft 7 Tooth ,875 dia. (hardened) Arbre 7 dents .875 diam.
17 717-1445 Gear 80 Tooth Engrenage 80 dents
18 721-0263 Loctite Loctite
19 732-0264 Extension Spring 3/8 OD X 2.5 Ressort dextension 3/8 DE X 2.5
20 736-0105 Bell. Washer .400 ID X .88 OD X .06 Rondelle Bell..400 DI X .88 DE X .06
Continued on next page/Suite à la page prochaine
24
4
2
2
3
2
1
37
8
8
8
8
6
34
7
13
9
5
12
15
15
16
17
22
23
24
25
26
28
29
27
27
27
28
29
30
31
6
6
33
39
33
38
40
22
10
10
13
13
20
Torque to 13 foot pounds
maximum./
Serrez à un couple de 13
pi-lb maximum.
Torque to 6-9 foot
pounds maximum./
Serrez à un couple
de 6-9 pi-lb maxi
-
mum.
Refer to maintenance
instructions in the owners
manual for correct assembly./
Consultez les instructions
concernant l'entretien dans la
notice d'utilisation.
Wheel drive cable should be routed over axle if unit has 13" & 15
wheels, under axle if unit has 16" wheels. Le câble d'entraînement
des roues doit passer au-dessus de l'essieu si la machine est
équipée de roues de 13 po et 15 po , en dessous si elle est équipée
de roues de 16 po.
Auger Drive Cable/
Câble d'entrainement
de la tarière
8-11 HP
5,5,5 & 7 HP
A - 13" & 15 tire mounting location.
Emplacement de montage des
pneus de 13 po et 15 po.
B - 16" tire mounting location.
Emplacement de montage des
pneus de 16 po.
XXX Colour Codes/
Code du couleur XXX
662 Oyster Grey/Gris
674 Radiant Yellow/Jaune
Auger Drive Cable/
Câble d'entrainement de
la tarière
Refer to wheel chart/
Consultez le tableau
des roues et pneus.

Related product manuals