EasyManua.ls Logo

Muratec MFX-3535 - 5.3.7 ADF skew adjustment

Muratec MFX-3535
406 pages
Print Icon
To Next Page IconTo Next Page
To Next Page IconTo Next Page
To Previous Page IconTo Previous Page
To Previous Page IconTo Previous Page
Loading...
5-111
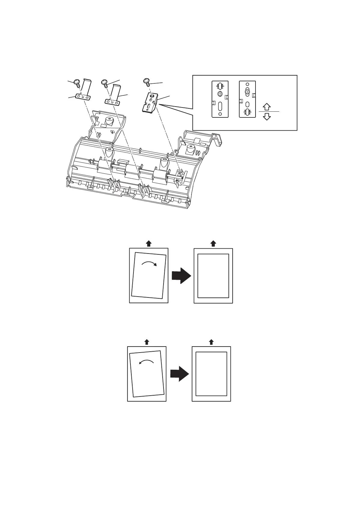
5.3.7 ADF skew adjustment
1. Remove the Cover Tx. (See “COVER TX” on page 5-17.)
2. Remove the Guide outer A. (See “ASSY ROLLER SEPARATOR” on page 5-18.)
3. Remove two screws [1] and remove two Springs P regist [2].
4. Remove one screw [3] then remove the Holder regist shaft [4].
5. Rotate the Holder regist shaft [4] 180 degrees and reinstall it.
>
@
>
@
>
@
>
@
>
@
>
@
VFUHZSRVLWLRQ
EHIRUHVKLSSLQJ
VFUHZSRVLWLRQ
GXULQJDGMXVWLQJ
GLUHFWLRQ%
GLUHFWLRQ$
UHIHUHQFH
SRVLWLRQ
6. If the adjustment is made in direction A: the copied image will be rotated counterclockwise in relation to
the recording paper.
7. If the adjustment is made in direction B: the copied image will be rotated clockwise in relation to the re-
cording paper.

Table of Contents

Other manuals for Muratec MFX-3535

Related product manuals