EasyManua.ls Logo

MUTOH SC-1300 - Y-Motor Assy

MUTOH SC-1300
120 pages
Print Icon
To Next Page IconTo Next Page
To Next Page IconTo Next Page
To Previous Page IconTo Previous Page
To Previous Page IconTo Previous Page
Loading...
Maintenance Manual – SC Cutting Plotter
87 AP-74030, Rev / B
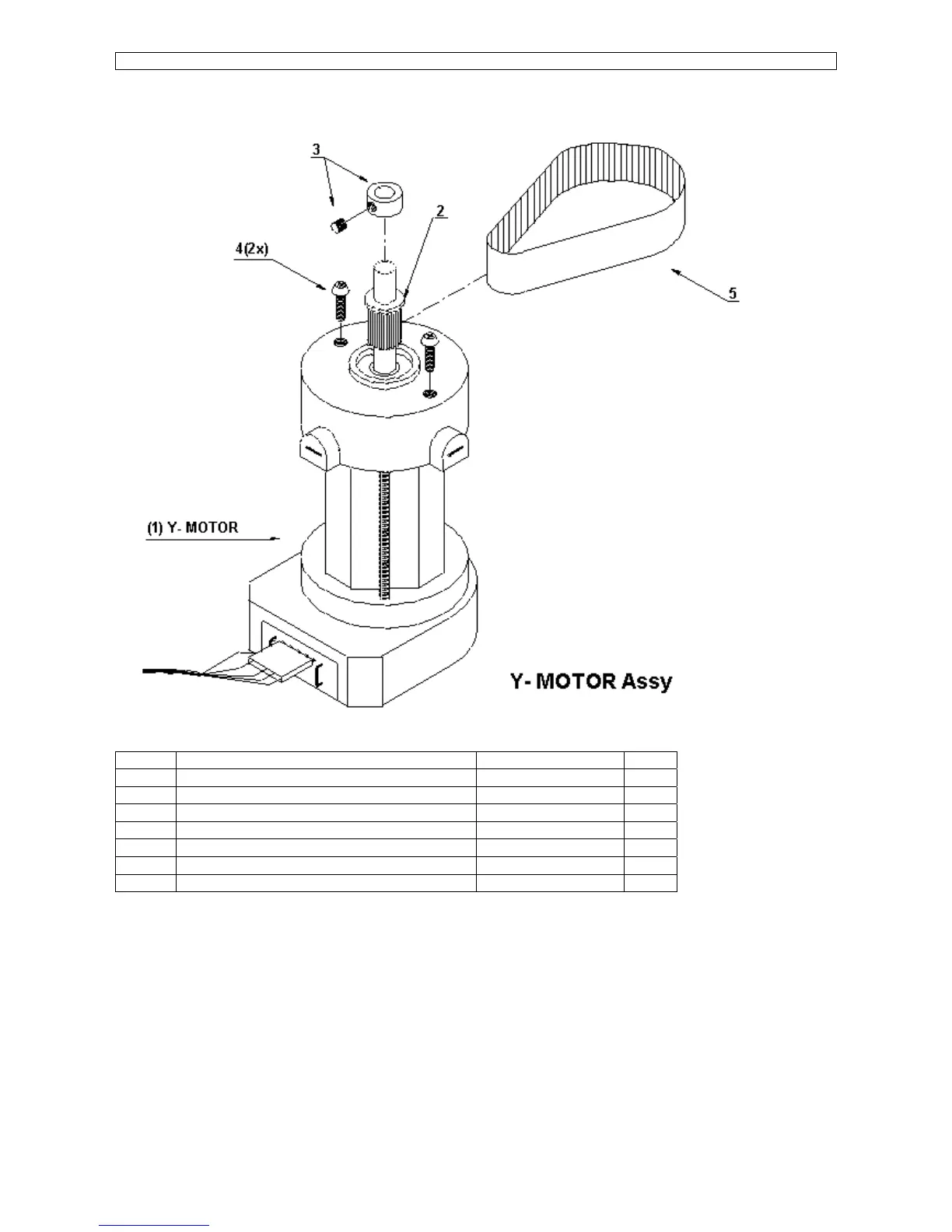
8.10. Y-motor assy.
Ref. Description Partnumber Qty
# Y-motor assy EY-10010 1
1 Y-motor EE-10010 1
2 Drive pulley DE-47077 1
3 Set ring + screws BR-32002 1
- ---------------------------------------------------------- --------------------------- -
4 Screw M3x10 DR-4001-43395 2
5 Y-transfer belt DE-47079 1

Table of Contents

Related product manuals