EasyManua.ls Logo

NAD L75 - Page 18

NAD L75
49 pages
Print Icon
To Next Page IconTo Next Page
To Next Page IconTo Next Page
To Previous Page IconTo Previous Page
To Previous Page IconTo Previous Page
Loading...
2-19
LEVEL SHIFTER
2
1
2
3
4
1
5
6
2
8
4
1
2
3
4
6
8
4
1
3
4
5
6
7
8
9
10
14 28
11
12
13
27
26
25
24
23
22
21
20
19
18
17
16
15
LATCH CIRCUIT
SHIFT REGISTER
LEVEL SHIFTER
LATCH CIRCUIT
L-S R-S
Vss GND VDD
L-S
L-S
L-S
L-S
L-COM
L-S
L-COM
L-S
7
L-S
L-COM
ST
R-S
R-S
R-S
5
R-S
1
R-COM
R-S
2
R-COM
R-S
R-COM
DATA
CK
7
R-S
LEVEL SHIFTER
2
1
2
4
8
4
1
2
4
8
4
1
3
4
5
6
7
8
9
10
14 28
11
12
13
27
26
25
24
23
22
21
20
19
18
17
16
15
LATCH CIRCUIT
SHIFT REGISTER
LEVEL SHIFTER
LATCH CIRCUIT
L-S R-S
Vss GND VDD
L-S
1
L-COM
3
L-S
L-S
5
L-S
2
L-COM
6
L-S
L-S
7
L-S
L-COM
ST
R-S
1
R-COM
3
R-S
R-S
2
R-COM
5
R-S
6
R-S
R-S
R-COM
DATA
CK
7
R-S
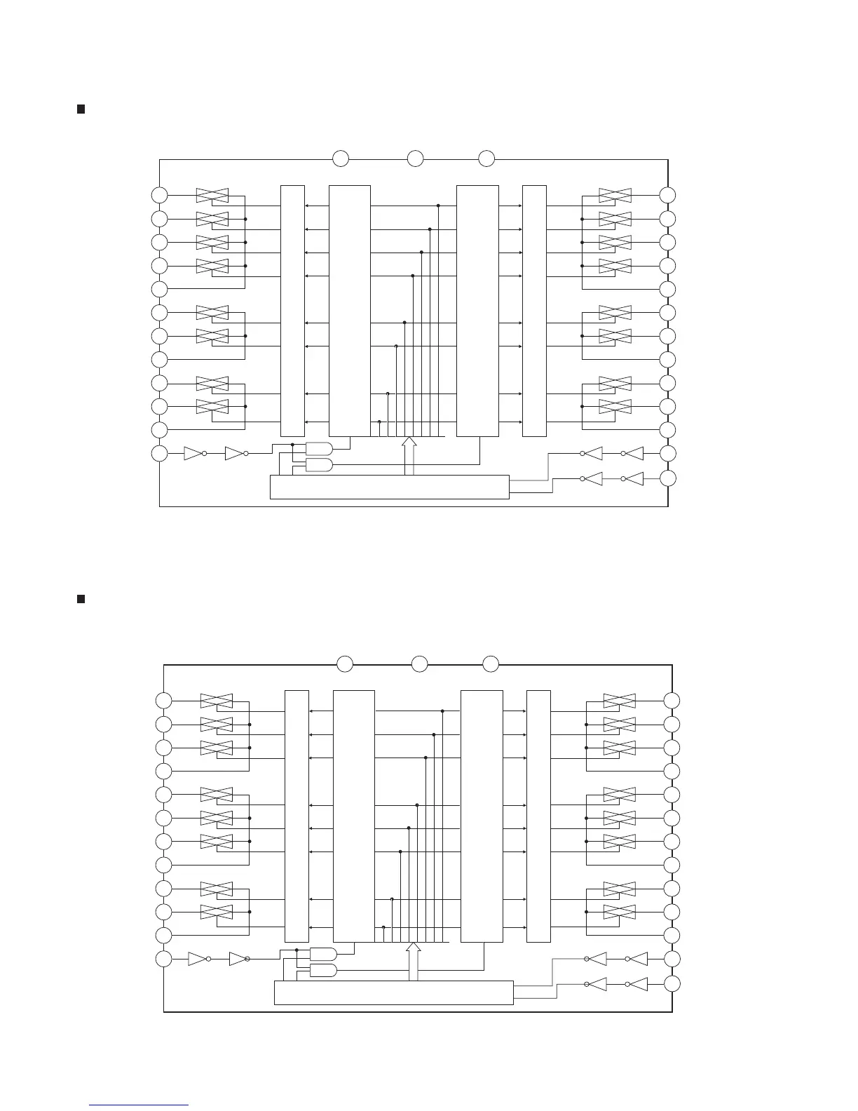
TC9164AF (FUNCTION IC36)
BLOCK DIAGRAM
TC9163AF (FUNCTION IC11)
BLOCK DIAGRAM

Other manuals for NAD L75

Related product manuals