EasyManua.ls Logo

National Instruments M Series - Page 42

National Instruments M Series
411 pages
To Next Page IconTo Next Page
To Next Page IconTo Next Page
To Previous Page IconTo Previous Page
To Previous Page IconTo Previous Page
Loading...
Chapter 3 Connector and LED Information
© National Instruments Corporation 3-11 M Series User Manual
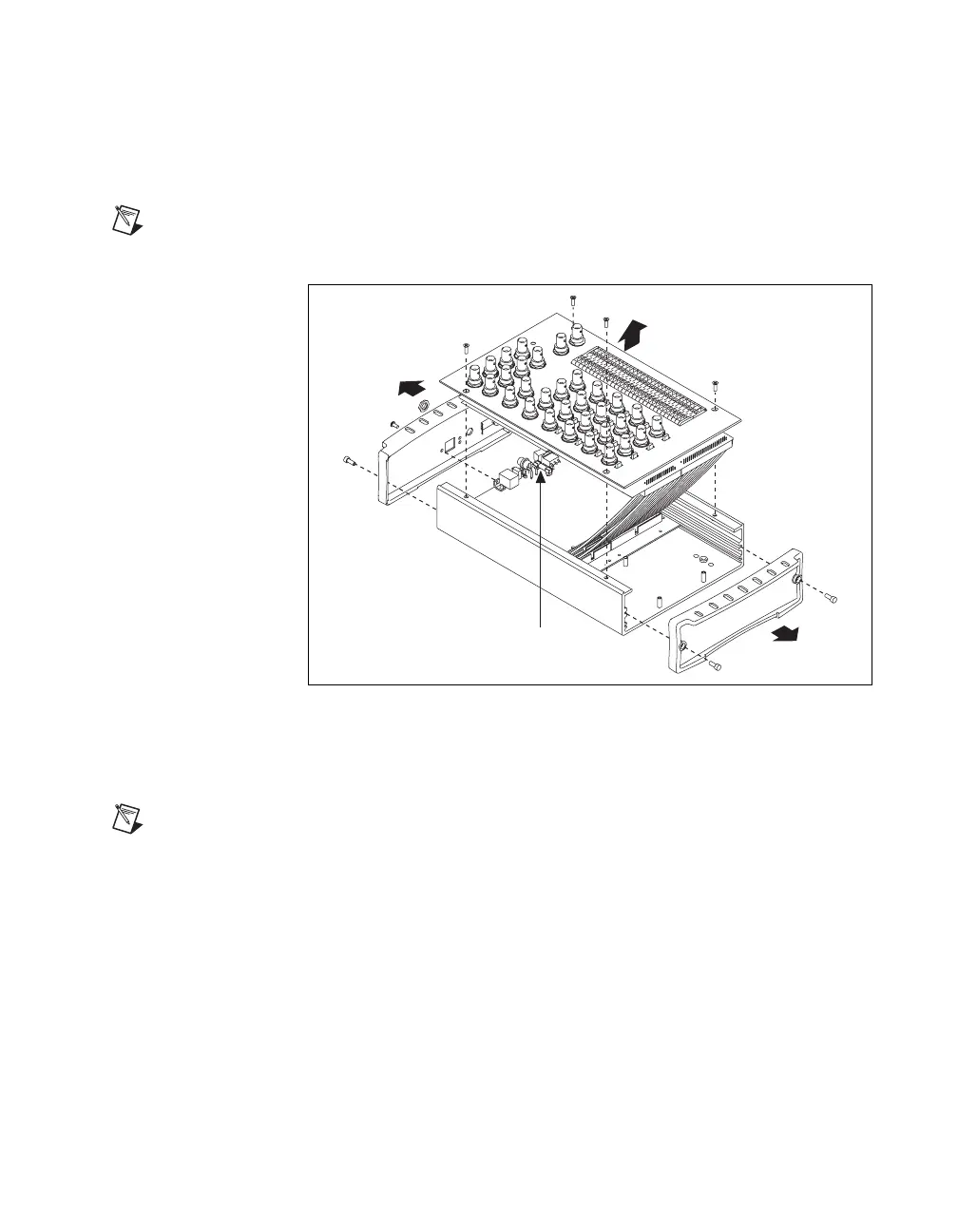
(USB-62xx BNC Devices) To remove the fuse from the USB-62xx BNC,
complete the following steps.
1. Power down and unplug the device.
Note Take proper ESD precautions when handling the device.
Figure 3-3. USB-62xx BNC Fuse Location
2. Remove both end pieces by unscrewing the four sockethead cap screws
with a 7/64 in. hex wrench.
Note The end pieces are attached using self-threading screws. Repeated screwing and
unscrewing of self-threading screws will produce a compromised connection.
3. With a Phillips #2 screwdriver, remove the Phillips 4-40 screw
adjacent to the USB connector.
4. Remove the nut from the power connector.
5. Remove the four Phillips 4-40 screws that attach the top panel to the
enclosure, and remove the panel and connector unit.
6. Replace the fuse.
7. Replace the top panel, screws, nut, and end pieces.
Fuse

Table of Contents

Related product manuals