EasyManua.ls Logo

Newlong DKN-2 - Thread Tension Parts

Newlong DKN-2
28 pages
Print Icon
To Next Page IconTo Next Page
To Next Page IconTo Next Page
To Previous Page IconTo Previous Page
To Previous Page IconTo Previous Page
Loading...
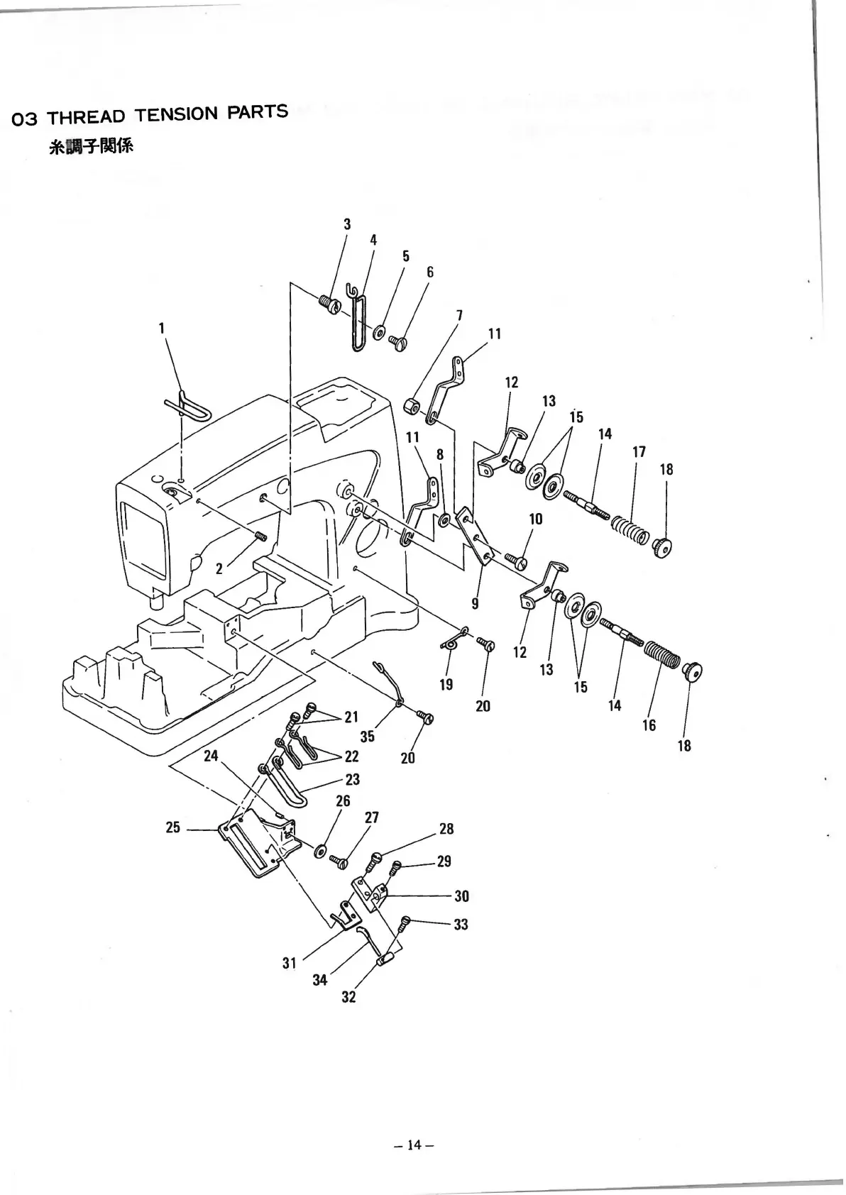
03
THREAD
TENSION PARTS
*
1\t
-¥-DUf~
32
-14-
From the library of: Superior Sewing Machine & Supply LLC

Related product manuals