EasyManua.ls Logo

Newlong DKN-2 - Main Shaft and Feed Driving Parts

Newlong DKN-2
28 pages
Print Icon
To Next Page IconTo Next Page
To Next Page IconTo Next Page
To Previous Page IconTo Previous Page
To Previous Page IconTo Previous Page
Loading...
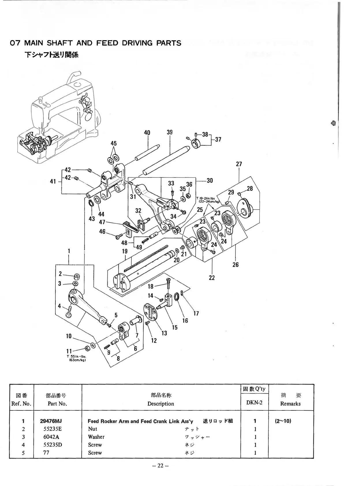
07
MAIN
SHAFT
AND
FEED
DRIVING PARTS
""f
~7~~
IJ
Ill)~
41
®:fA:
W&h:fl=
~
Ref. No.
Part No.
T 55Jn
-lbs
.
(63cm/kgl
ml~:t:fff\
Description
1
29476MJ
Feed Rocker Arm and Feed Crank
link
Ass'y
i2S
l.l
0
":1
t:Hl
2
55235E
Nut
-:)-':11-
3
6042A Washer
'l':IV-1--
4
552350
Screw
;f.~
5
77 Screw
;f.~
-22-
mJ
1!!:
Q'ty
ml
~
DKN-2
Remarks
1
(2-10)
1
1
1
1
From the library of: Superior Sewing Machine & Supply LLC

Related product manuals