EasyManua.ls Logo

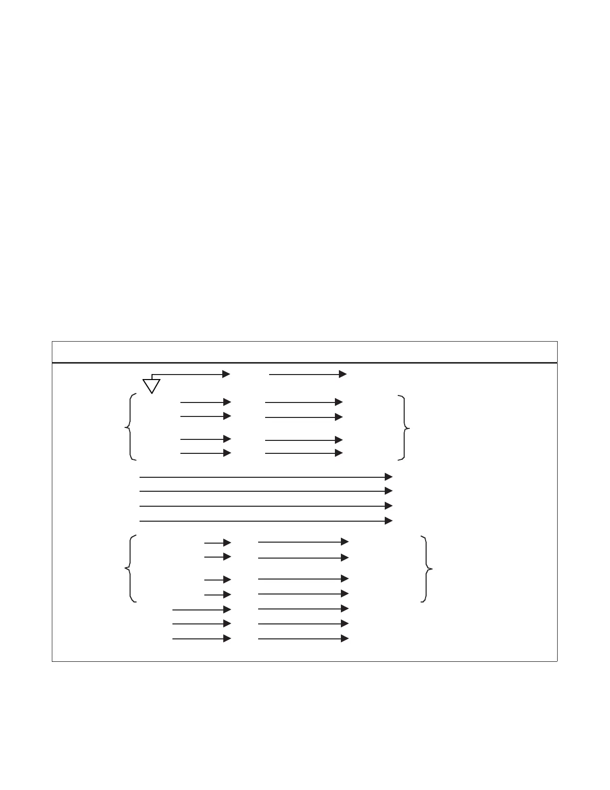
Newport Electronics P6000A - Controller Interconnections; Figure 5-1 Connections with a Parallel BCD Printer Using Right-Hand Decimal Point; Interconnections with a Parallel BCD Printer

Newport Electronics P6000A
32 pages
Print Icon
To Next Page IconTo Next Page
To Next Page IconTo Next Page
To Previous Page IconTo Previous Page
To Previous Page IconTo Previous Page
Loading...
7
5.0 CONTROLLER INTERCONNECTIONS
5.1 INTERCONNECTION WITH A PARALLEL BCD PRINTER
If printing the decimal point is not required or if the printer recognizes a positive
true binary address for the decimal point, simply connect the 24 line BCD outputs
(6 digits x 4) to the corresponding inputs of the printer. For negative true BCD and
decimal point address, install S4-B. If the parallel BCD printer accepts more than
6Êdigits, tie the unused inputs (digits 7, 8, etc.) to GND or high level, as required,
to print a BLANK on those positions.
Some printers or data acquisition systems can only accept a binary address of a
left-hand decimal point (001 corresponds to XXXXX.X instead of XXXXXX.). For
interconnection to such a system, connect each digit (4 BCD lines) to the next
more significant digit input of the printer (e.g., D1D2, D3D4, . . . D6D7).
With this method, all of the digits are printed one position to the left;
therefore, the decimal point prints in the correct position. Digit 1 input and
other unused inputs of the printer should be tied to the appropriate level
to print a BLANK or zero.
P6000A/P5000 Parallel BCD Parallel BCD Printer
ISO GND L7 GND
BCD 1 L18 BCD 1
DIGIT 1
BCD 2 U18 BCD 2
DIGIT 1
BCD 4 L17 BCD 4
BCD 8 U17 BCD 8
DIGIT 2 DIGIT 2
DIGIT 3 DIGIT 3
DIGIT 4 DIGIT 4
DIGIT 5 DIGIT 5
BCD 100 k L5 BCD 100 k
DIGIT 6
BCD 200 k U5 BCD 200 k
DIGIT 6
BCD 400 k L5 BCD 400 k
BCD 800 k U5 BCD 800 k
d.p. 1 U19 d.p. B1 Decimal point
d.p. 2 L12 d.p. B2 binary address
d.p. 4 U12 d.p. B4 (right-hand
decimal point)
Figure 5-1 Connections with a Parallel BCD Printer
Using Right-hand Decimal Point
1

Table of Contents