EasyManua.ls Logo

Nibe Fighter 1210 - System Dimensions

Nibe Fighter 1210
40 pages
Print Icon
To Next Page IconTo Next Page
To Next Page IconTo Next Page
To Previous Page IconTo Previous Page
To Previous Page IconTo Previous Page
Loading...
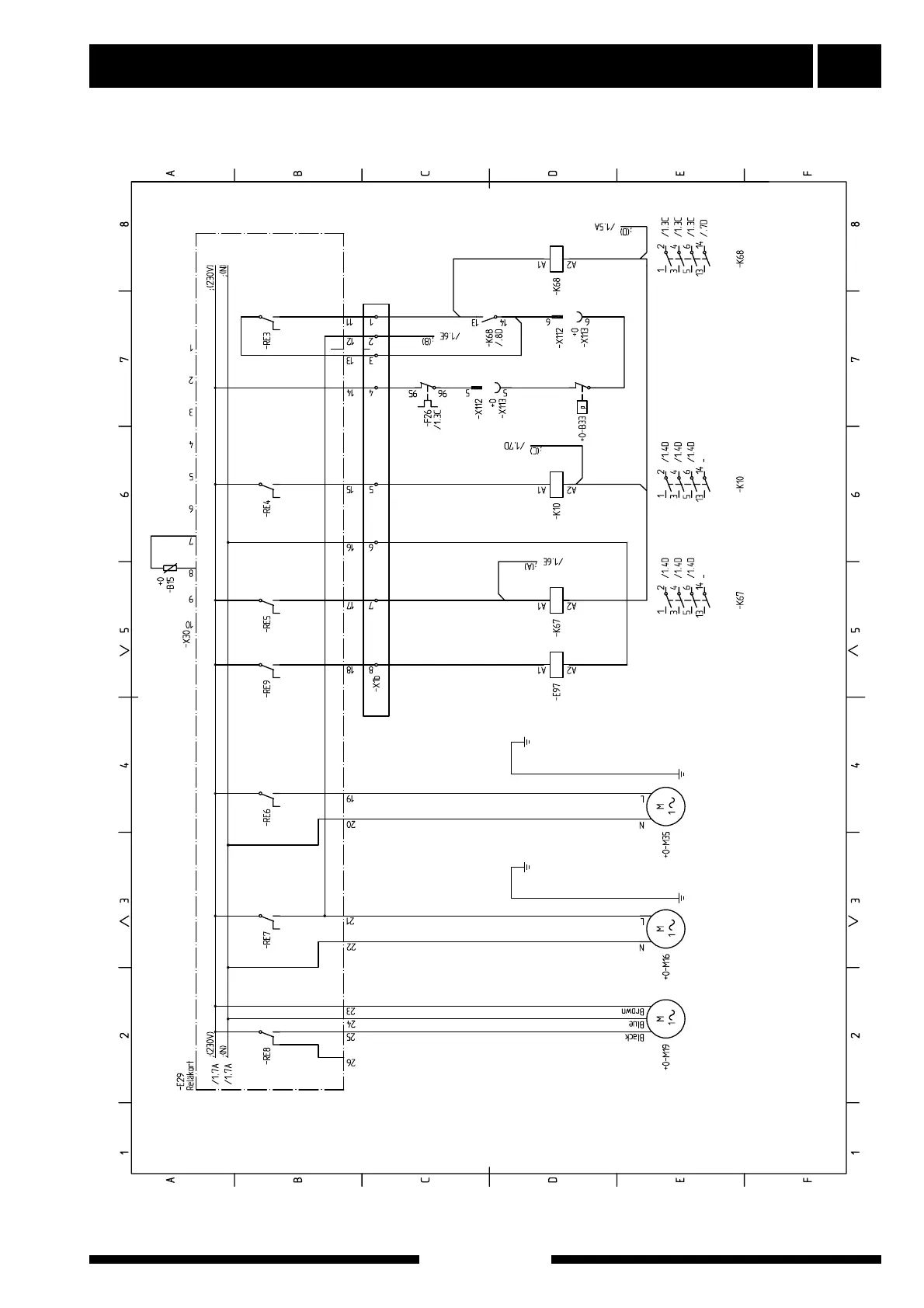
Electrical diagram 5 10 kW 29
FIGHTER 1210
For the Installer
Sheet 2 (2)
Relay card
Outside sensor
Compressor start
Immersion heater step 1
Immersion heater step 2
Brine pump
Heating medium pump
Reversing valve
Soft starter

Table of Contents

Related product manuals