EasyManua.ls Logo

NXP Semiconductors UM11483 - Bluetooth Layer Interfaces

NXP Semiconductors UM11483
41 pages
To Next Page IconTo Next Page
To Next Page IconTo Next Page
To Previous Page IconTo Previous Page
To Previous Page IconTo Previous Page
Loading...
NXP Semiconductors
UM11483
Getting Started with NXP-based Wireless Modules on i.MX 8M Quad EVK Running Linux OS
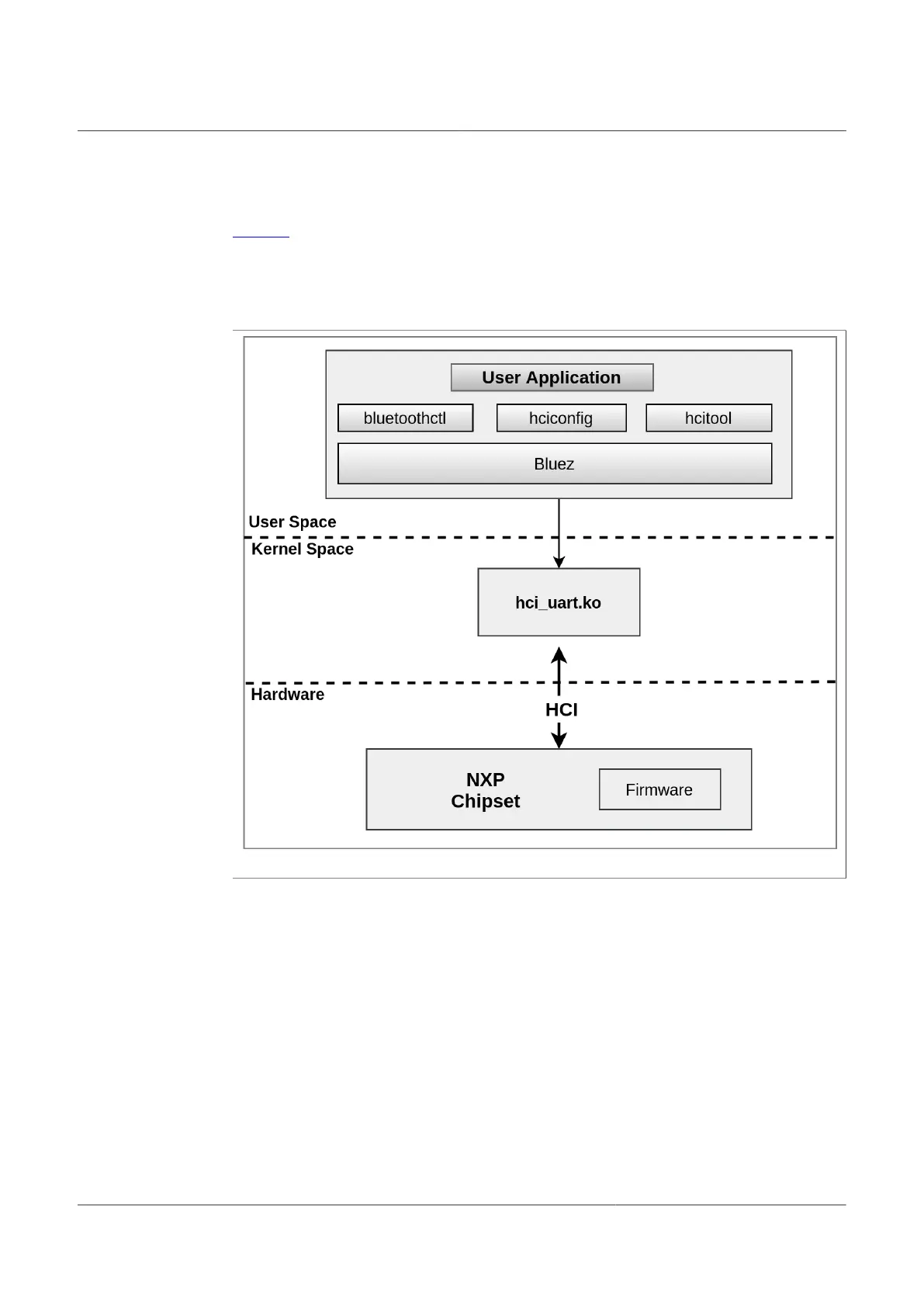
3.3 Bluetooth layer interfaces
Figure 7 illustrates the layers between the user applications and the NXP-based
Bluetooth module. The NXP-based wireless module requires a kernel driver loaded on
the i.MX 8M Quad host system and a firmware running on NXP SoC. The Wi-Fi driver
loads the combo firmware. The hci_uart driver provides the HCI interface between the
firmware and user application.
Figure 7. Bluetooth layer interface
UM11483 All information provided in this document is subject to legal disclaimers. © NXP B.V. 2021. All rights reserved.
User manual Rev. 2 — 21 January 2021
11 / 41

Table of Contents

Other manuals for NXP Semiconductors UM11483

Related product manuals