EasyManua.ls Logo

Oliver 797-48 - Adjusting the Slicer for Product Length

Oliver 797-48
58 pages
Print Icon
To Next Page IconTo Next Page
To Next Page IconTo Next Page
To Previous Page IconTo Previous Page
To Previous Page IconTo Previous Page
Loading...
0797S20067 4-2
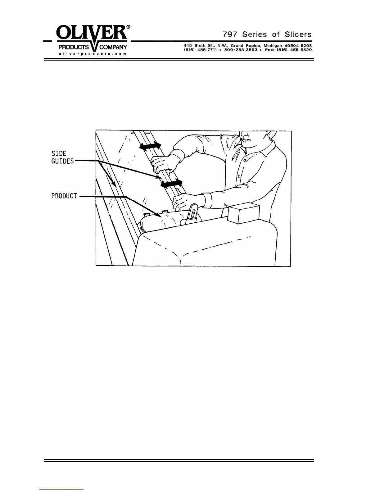
Adjusting the Slicer for Product Length
Using a typical product, adjust the infeed chute side guides by applying hand pressure.
See the next illustration. Set the side guides approximately 1/8 inch wider than the
longest expected product.

Related product manuals