EasyManua.ls Logo

Oliver 797-48 - Page 43

Oliver 797-48
58 pages
Print Icon
To Next Page IconTo Next Page
To Next Page IconTo Next Page
To Previous Page IconTo Previous Page
To Previous Page IconTo Previous Page
Loading...
0797S20077 14-1
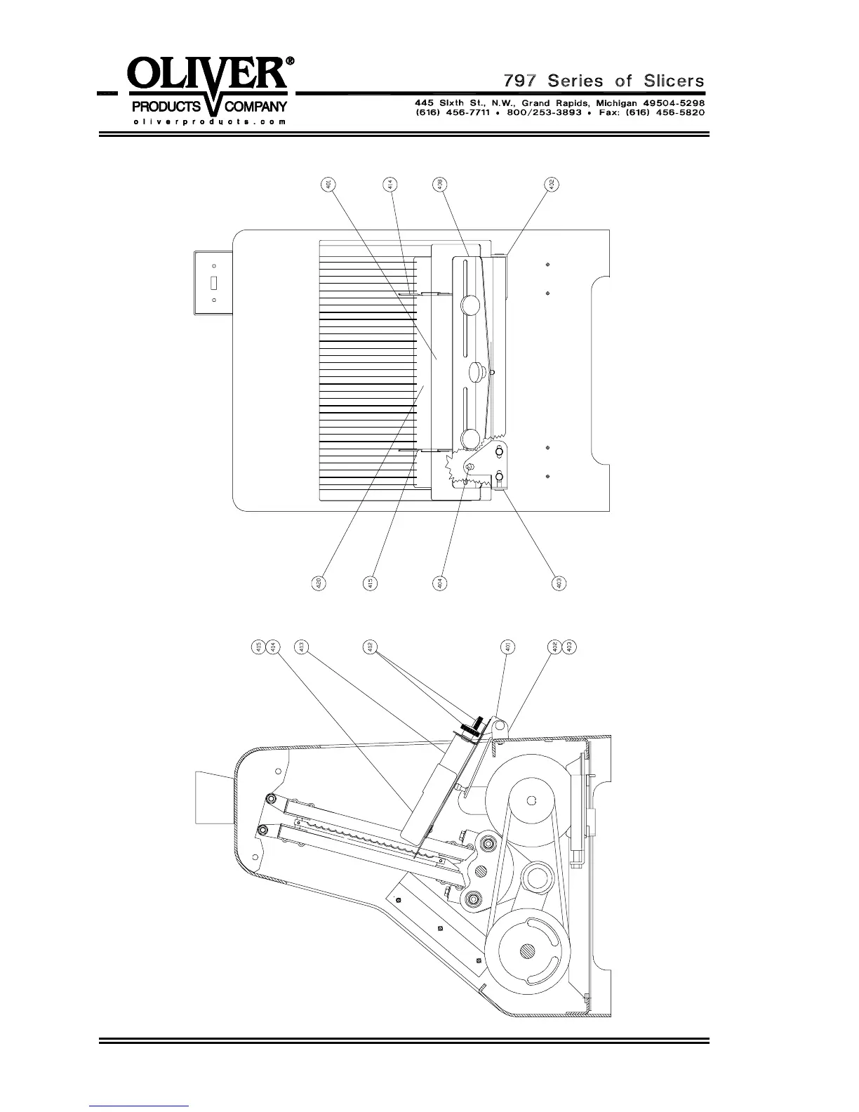
STANDARD OUTFEED ASSEMBLY

Related product manuals