EasyManua.ls Logo

Olivetti ECR 5900 - Cash in Drawer Report; Clerk Report

Olivetti ECR 5900
45 pages
Print Icon
To Next Page IconTo Next Page
To Next Page IconTo Next Page
To Previous Page IconTo Previous Page
To Previous Page IconTo Previous Page
Loading...
19
ENGLISH
X2 and Z2 Financial Reports
1. Control lock key position: X or Z (bear in mind that a Z2
printout resets all totals to zero).
2. If a PRG and Z mode, or X mode, manager password was
defined type the [4-digit password] and press
.
3. Type and press .
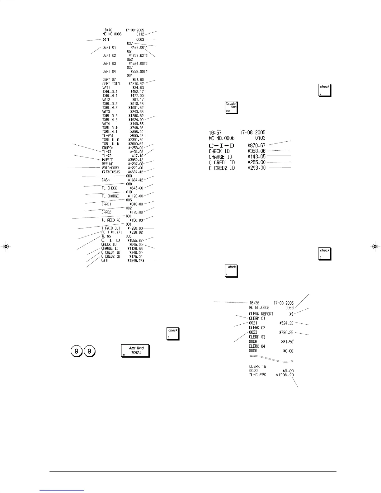
Cash in Drawer Report
This report tells you the financial status of your cash drawer.
It provides the totals for cash, check, charge, credit 1 and
credit 2 payments.
1. Control lock key position: X or Z (bear in mind that a Z
Clerk Report resets all totals).
2. If a PRG and Z mode, or X mode, manager password was
defined type the [4-digit password] and press
.
3. Press .
Clerk Report
This report lists the number of transactions and sales totals
for each Clerk. At the end of the receipt you are given the
sales total of all clerks.
1. Control lock key position: X or Z (bear in mind that a Z
Clerk Report resets all totals).
2. If a PRG and Z mode, or X mode, manager password was
defined type the [4-digit password] and press
.
3. Press .
Percent discount
total
Cash in drawer total
Check in drawer total
Charge in drawer total
Credit 1 in drawer total
Credit 2 in drawer total
Coupon (-)
total
X report identifier
Department 1
activity counter
X counter
Department 1
sales total
Department number
or assigned name
Total amount VAT
1, 2, 3 and 4
Refund total
Gross sales total
Cash sales total
Check sales total
Charge sales total
Received on
account total
Paid out total
Cash in drawer
total
Check in drawer
total
Net sales total in
local currency
Cash sales counter
Void total
Charge sales counter
Check sales counter
Consecutive
receipt number
Paid out counter
Received on
account counter
Charge in drawer total
Sales total for all
departments
Grand total
Card 1 sales counter
Card 1 sales total
No sale counter
Card 1 in drawer total
Percent add-on total
Card 2 sales counter
Card 2 sales total
Foreign currency
rate and sales total
Card 2 in drawer total
Consecutive
receipt
number
X report
identifier
Sales total
of clerk 1
Sales total
of clerk 2
Activity counter
for Clerk 1
Clerk 1 number or
assigned name
Time
Activity counter
for Clerk 2
Sales total of all clerks

Related product manuals