EasyManua.ls Logo

Olivetti ECR 5900 - Page 30

Olivetti ECR 5900
45 pages
Print Icon
To Next Page IconTo Next Page
To Next Page IconTo Next Page
To Previous Page IconTo Previous Page
To Previous Page IconTo Previous Page
Loading...
22
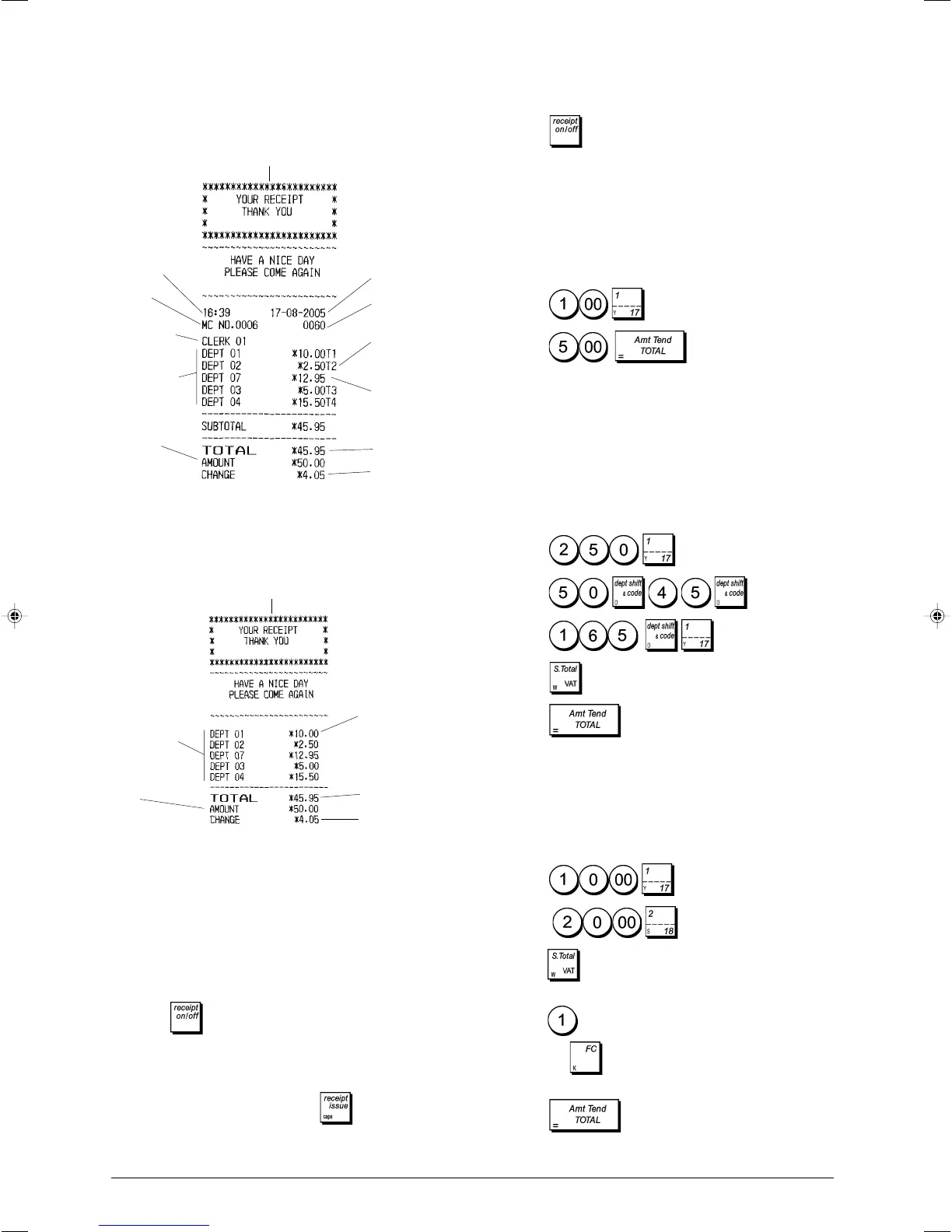
Sample Receipts
The following receipt is a typical receipt issued by the cash
register.
The following example receipt containing the least informa-
tion possible. To obtain this receipt, program system options
50, 51, 52, 53, 54, 55 and 67 accordingly. See "System
Options" for details.
Receipt On/Off
Outside of a sales transaction, the cash register can be
switched to the non-print mode where the transactions
performed in the REG mode will not be printed. In the non-
print mode, the sales totals will be maintained and the
management reports will print.
1. Control lock key position: REG
2. Press
.
NOTE:If you set System Option 22 to 1 (Print multiple
receipts) as explained in section "System Options", you can
override this setting and print the receipt of the last sales
transaction performed by pressing for as many re-
ceipts wanted.
Exiting the Non-Print Mode
1. Control lock key position: REG
2. Press
.
Registering a Single Item Sale with Change
Tender
Up to eight digits can be used for the amount of the entry.
Example: Register a £1.00 item in Department 1. Compute
change for £5.00.
1. Press
.
2. Press
.
The transaction is ended and the change due to the customer
is displayed.
Registering a Multiple Item Sale with Exact
Cash Tender
Example: Register a £2.50 item to Department 1, a £0.50
item to Department 45 and a £1.65 item to Department 17,
with an exact tender of £4.65.
1. Press
.
2. Press .
3. Press
.
4. Press .
5. Press
.
Registering a Multiple Item Sale with Exact
Cash Tender in Foreign Currency
Example: Register a £10.00 item to Department 1, a
£20.00 item to Department 2, with an exact tender in
foreign currency.
1. Press
.
2. Press .
3. Press to display and print the current balance due
in Local currency.
4. Press
for foreign currency number 1 programmed
and press
to display the current balance due in the
foreign currency.
5. Press .
Customer receipt header with
max. 24 characters per line
Item price with
department
VAT rate
identifier
Total
balance due
Change due
Item price in
non-taxable
department
Date
Machine
number
Clerk number
or assigned
name
Departments
Cash
tendered
Consecutive
receipt number
Time
Customer receipt header with
max. 24 characters per line
Item price
Total
balance due
Change due
Departments
Cash
tendered

Related product manuals