EasyManua.ls Logo

Olympus UHI-2 - Flow Sensor Components

Olympus UHI-2
38 pages
Print Icon
To Next Page IconTo Next Page
To Next Page IconTo Next Page
To Previous Page IconTo Previous Page
To Previous Page IconTo Previous Page
Loading...
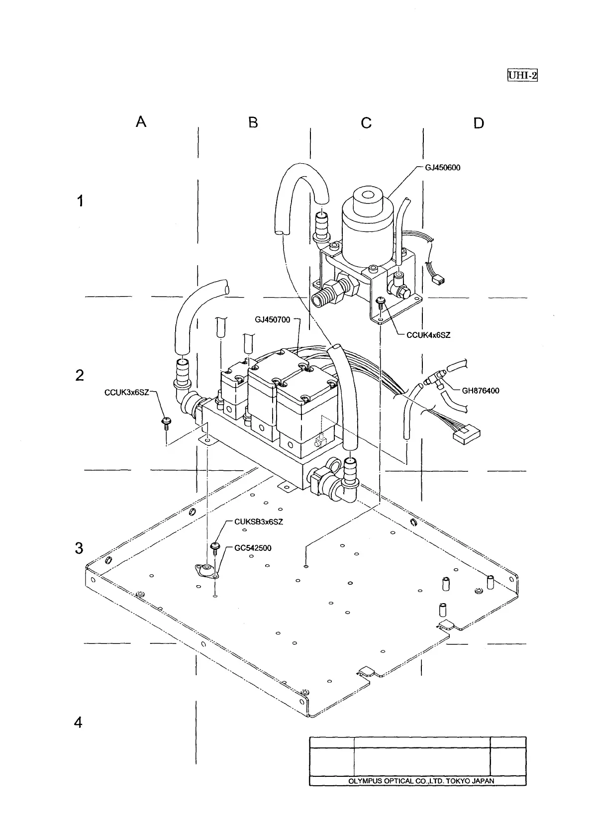
EXPLODED PARTS DIAGRAM
MODEL
UHI-2
UNIT
FLOW SENSOR
FR.1107
FIG.4/7
EXPLODED PARTS DIAGRAM
4-4

Related product manuals