EasyManua.ls Logo

Omron C200HX - Page 520

Omron C200HX
586 pages
Print Icon
To Next Page IconTo Next Page
To Next Page IconTo Next Page
To Previous Page IconTo Previous Page
To Previous Page IconTo Previous Page
Loading...
502
Limitations Multiple responses to a command can be cancelled with this command.
This command is valid even without the FCS code and terminator.
PC Settings
PC Mode UM Area
RUN MONITOR PROGRAM Write-protected Read-protected
OK OK OK OK OK
Execution Conditions
Commands Responses
Single Multiple Single Multiple
OK --- --- ---
End Codes There are no end codes with this command.
10-3-38 INITIALIZE –– 
Initializes the transmission control procedure of all the PCs connected to the
host computer. The INITIALIZE command does not use node numbers or FCS,
and does not receive a response.
Command Format
@
Limitations Multiple responses to a command can be cancelled with this command.
PC Settings
PC Mode UM Area
RUN MONITOR PROGRAM Write-protected Read-protected
OK OK OK OK OK
Execution Conditions
Commands Responses
Single Multiple Single Multiple
OK --- --- ---
End Codes There are no end codes with this command.
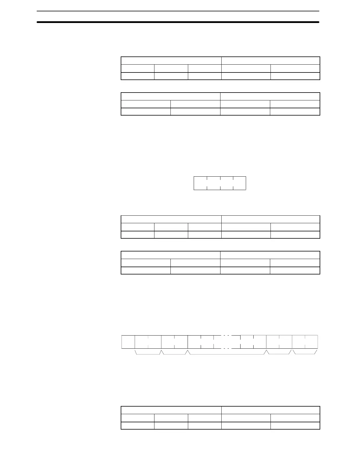
10-3-39 TXD RESPONSE –– EX
This is the response format used when the PC’s TXD(––) instruction is executed
in Host Link mode. (TXD(––) converts the specified data into ASCII code and
transmits it to the host computer with this format.)
Response Format
@ EX
x 10
0
x 10
1
Node no. Header
code
Characters (122 max.)
Data specified in TXD(––)
TerminatorFCS
Limitations The frame can contain up to 122 characters. (TXD(––) doesn’t support multiple
frames.)
There is no command associated with EX.
PC Settings
PC Mode UM Area
RUN MONITOR PROGRAM Write-protected Read-protected
OK OK --- OK OK
Host Link Commands
Section 10-3

Table of Contents

Related product manuals