EasyManua.ls Logo

Panasonic CS-E10HB4EA - Page 80

Panasonic CS-E10HB4EA
88 pages
Print Icon
To Next Page IconTo Next Page
To Next Page IconTo Next Page
To Previous Page IconTo Previous Page
To Previous Page IconTo Previous Page
Loading...
80
Note:
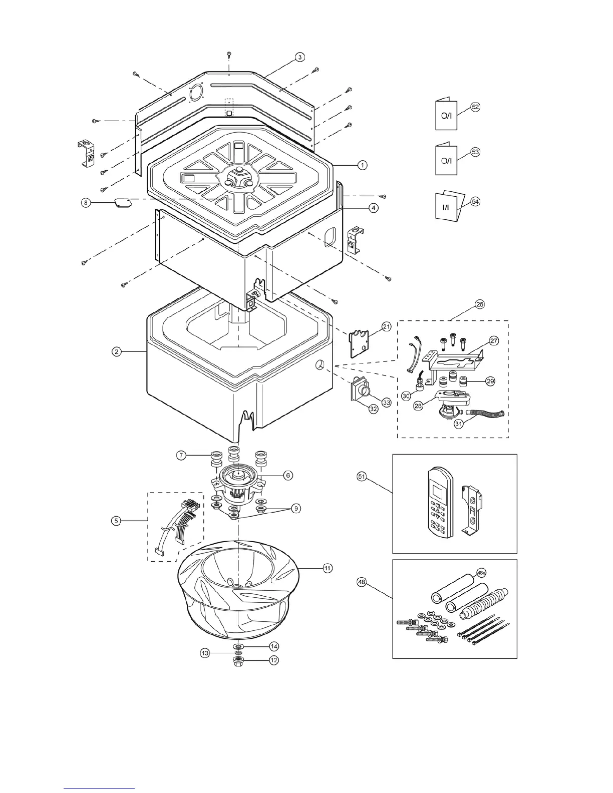
The above exploded view is for the purpose of parts disassembly and replacement.
The non-numbered parts are not kept as standard service parts.

Table of Contents

Other manuals for Panasonic CS-E10HB4EA

Related product manuals