EasyManua.ls Logo

Panasonic CS-F14DD3E5 - Page 38

Panasonic CS-F14DD3E5
105 pages
Print Icon
To Next Page IconTo Next Page
To Next Page IconTo Next Page
To Previous Page IconTo Previous Page
To Previous Page IconTo Previous Page
Loading...
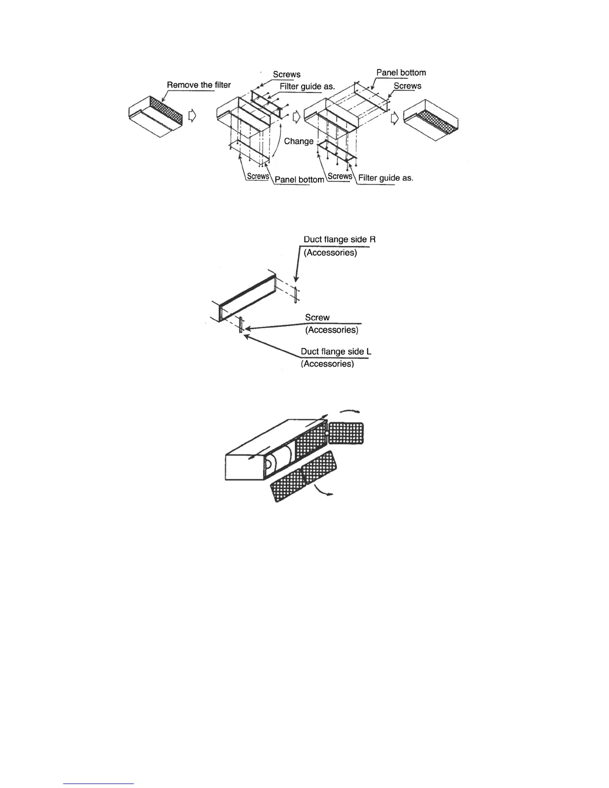
2. The panel bottom could be changed into the air inlet (case of (c)) as shown in the illustration below.
3. When the duct of air inlet will be installed, install the duct flange side R & L to the air inlet with accessories as shown in the
illustration.
4. The filter could be removed from any one of three directions as shown in the illustration below.
38

Table of Contents

Other manuals for Panasonic CS-F14DD3E5

Related product manuals