EasyManua.ls Logo

Panasonic CU-10ME1XPK - Page 114

Panasonic CU-10ME1XPK
643 pages
Print Icon
To Next Page IconTo Next Page
To Next Page IconTo Next Page
To Previous Page IconTo Previous Page
To Previous Page IconTo Previous Page
Loading...
PACD011001C2 Test Operation
Test Operation Urban Multi “MX1, ME1 Series” Using R-22 93
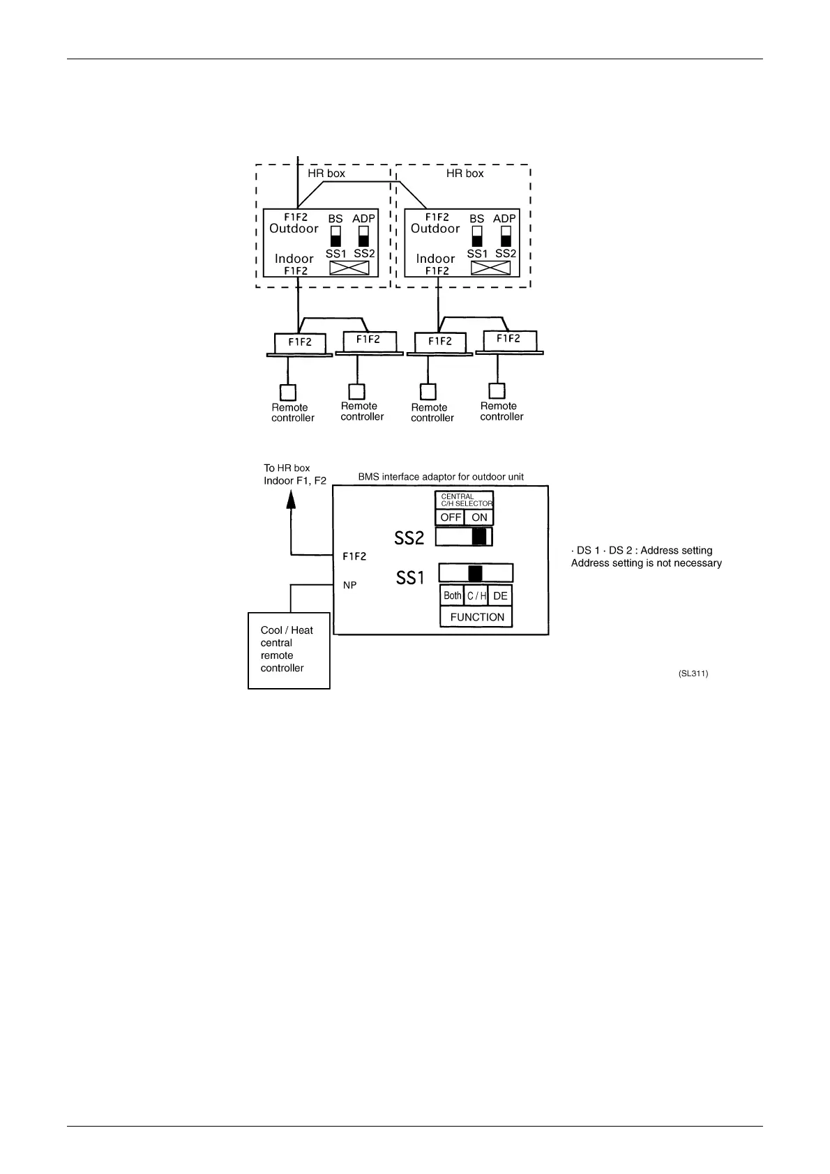
1.10.3 Set cool/heat individually for all HR box systems using the cool/heat central remote
controller.
Install the "BMS interface adaptor for outdoor unit" in HR box.

Table of Contents