EasyManua.ls Logo

Panasonic CU-10ME1XPK - 2.6 Remote Controller Self-Diagnosis Function (Display of Malfunction Code)

Panasonic CU-10ME1XPK
643 pages
Print Icon
To Next Page IconTo Next Page
To Next Page IconTo Next Page
To Previous Page IconTo Previous Page
To Previous Page IconTo Previous Page
Loading...
PACD011001C2 Test Operation
Test Operation UM Combination “MA1R Series” Using R-407C 475
1.12 Indoor Field Setting
Making a field setting
Field settings must be made by remote controller if optional accessories have been installed on the indoor
unit.
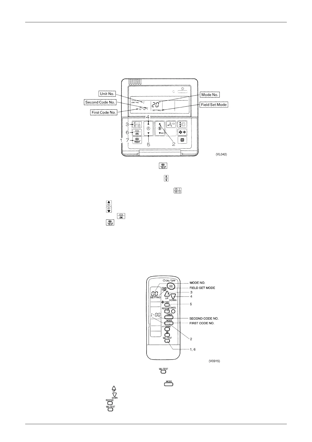
1.12.1 Wired Remote Controller <CZ-01RT Type>
1. When in the normal mode, push the button for 4 seconds or more, and operation then enters
the “field set mode.”
2. Select the desired “mode No.” with the button.
3. During group control and you want to set by each individual indoor unit (when mode No. 20, 21, 22, 23,
25 has been selected), push the time mode button and select the “indoor unit No.” to be set.
Note: This operation is not required when setting as a group.
4. Push the button and select the first code No.
5. Push the button and select the second code No.
6. Push the timer button one time and “define” the currently set contents.
7. Push the button to return to the normal mode.
(Example)
When setting the filter sign time to “Filter Dirtiness-High” in all group unit setting, set the Mode No. to “10”,
Mode setting No. to “0” and setting position No. to “02”.
1.12.2 Wireless Remote Controller <CZ-01·02RW Type>
1. When in the normal mode, push the button for 4 seconds or more, and operation then enters
the “field set mode.”
2. Select the desired “mode No.” with the button.
3. Pushing the button, select the first code No.
4. Pushing the button, select the second code No.
5. Push the button and check the settings.
6. Push the button to return to the normal mode.

Table of Contents

Other manuals for Panasonic CU-10ME1XPK

Related product manuals