EasyManua.ls Logo

Panasonic CU-10ME1XPK - Self-Diagnosis by Wired Remote Controller

Panasonic CU-10ME1XPK
643 pages
Print Icon
To Next Page IconTo Next Page
To Next Page IconTo Next Page
To Previous Page IconTo Previous Page
To Previous Page IconTo Previous Page
Loading...
PACD011001C2 Troubleshooting by Remote Controller
Troubleshooting Urban Multi “MX1, ME1 Series” Using R-22 147
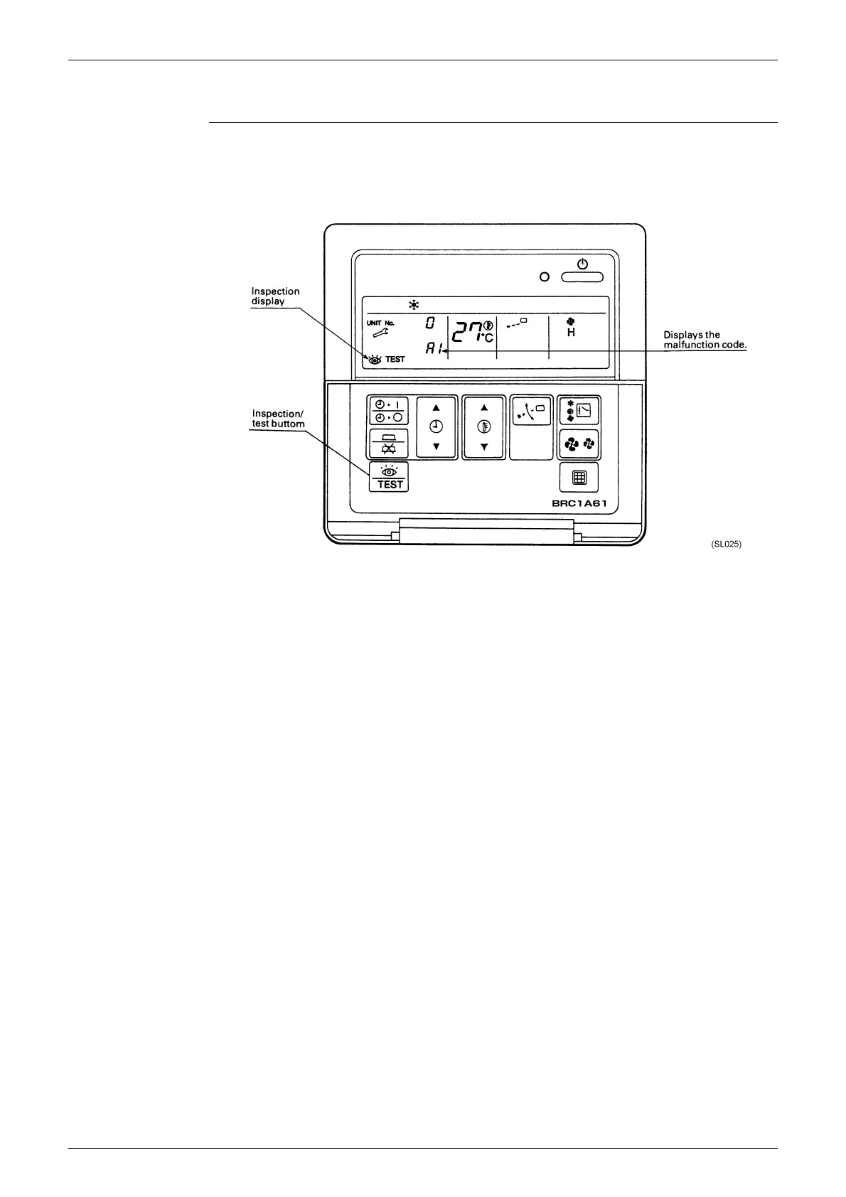
2.2 Self-diagnosis by Wired Remote Controller
Explanation
If operation stops due to malfunction, the remote controller’s operation LED blinks, and malfunction code is
displayed. (Even if stop operation is carried out, malfunction contents are displayed when the inspection
mode is entered.) The malfunction code enables you to tell what kind of malfunction caused operation to
stop. See page 154 for malfunction code and malfunction contents.

Table of Contents

Other manuals for Panasonic CU-10ME1XPK

Related product manuals