EasyManua.ls Logo

Panasonic CU-10ME1XPK - Indoor Field Setting

Panasonic CU-10ME1XPK
643 pages
Print Icon
To Next Page IconTo Next Page
To Next Page IconTo Next Page
To Previous Page IconTo Previous Page
To Previous Page IconTo Previous Page
Loading...
Test Operation PACD011001C2
108 Test Operation Urban Multi “MX1, ME1 Series” Using R-22
1.18 Indoor Field Setting
Making a field setting
Field settings must be made by remote controller if optional accessories have been installed on the indoor
unit, or if the indoor unit or HRV unit’s individual functions have been modified.
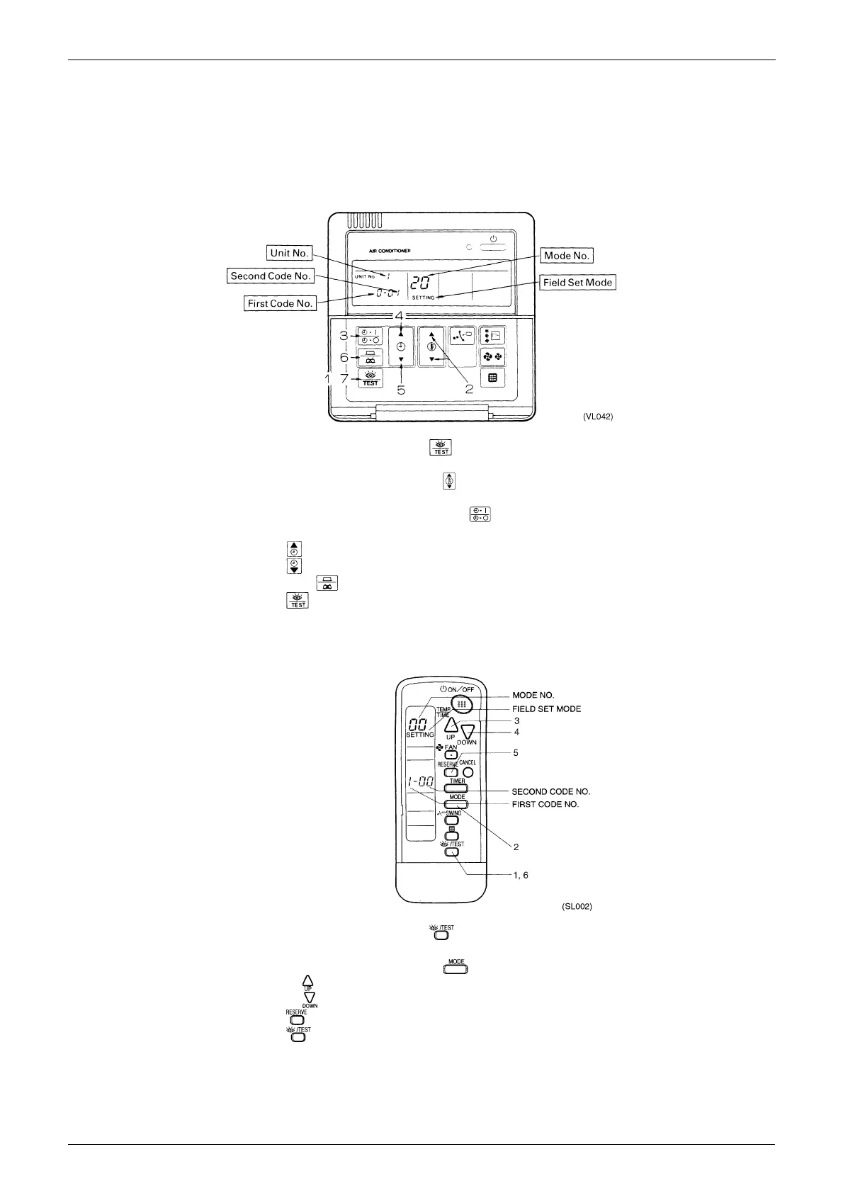
1.18.1 Wired Remote Controller <CZ-01RT Type>
1. When in the normal mode, push the button for 4 seconds or more, and operation then enters
the “field set mode.”
2. Select the desired “mode No.” with the button.
3. During group control and you want to set by each individual indoor unit (when mode No. 20, 21, 22, 23,
25 has been selected), push the time mode button and select the “indoor unit No.” to be set.
Note: This operation is not required when setting as a group.
4. Push the button and select the first code No.
5. Push the button and select the second code No.
6. Push the timer button one time and “define” the currently set contents.
7. Push the button to return to the normal mode.
1.18.2 Wireless Remote Controller <CZ-01·02RW Type>
1. When in the normal mode, push the button for 4 seconds or more, and operation then enters
the “field set mode.”
2. Select the desired “mode No.” with the button.
3. Pushing the button, select the first code No.
4. Pushing the button, select the second code No.
5. Push the button and check the settings.
6. Push the button to return to the normal mode.
Notes:
1. Settings are made simultaneously for the entire group, however, if you select the mode No. inside
parentheses, you can also set by each individual unit. Setting changes however cannot be checked
except in the individual mode for those in parentheses.
2. The mode numbers inside parentheses cannot be used by wireless remote controllers, so they cannot

Table of Contents

Other manuals for Panasonic CU-10ME1XPK

Related product manuals