EasyManua.ls Logo

Panasonic CU-10ME1XPK - Page 146

Panasonic CU-10ME1XPK
643 pages
Print Icon
To Next Page IconTo Next Page
To Next Page IconTo Next Page
To Previous Page IconTo Previous Page
To Previous Page IconTo Previous Page
Loading...
PACD011001C2 Test Operation
Test Operation Urban Multi “MX1, ME1 Series” Using R-22 125
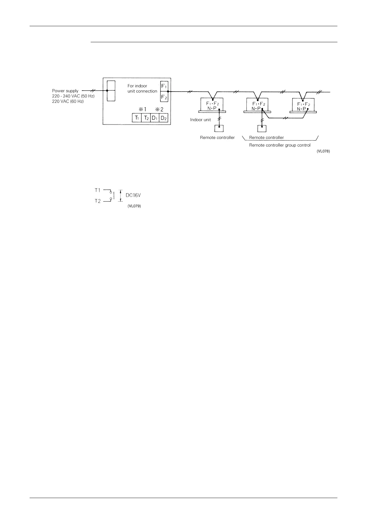
Wiring for Indoor
Unit
Terminals F1 and F2 of the unified ON/OFF controller’s terminal block for control and terminals F1 and F2
of the indoor unit with set group No. are wired as shown in the figure below. (There is no polarity, so it
doesn’t matter if F1 and F2 are inverted.)
1: Forced OFF input (T1, T2)
All connected indoor units go off and do not run while forced OFF input (for no-voltage contact, micro-
current) is “closed.” Use a contact that can guarantee a 16 VDC, 10 mA minimum applicable load.
Note:
If using an instantaneous contactor, use one that handles conducting time of 200 msec or more.
2: Power supply for schedule timer (D1, D2)
Wire only if 1, 2 and 3 are used.

Table of Contents

Other manuals for Panasonic CU-10ME1XPK

Related product manuals