EasyManua.ls Logo

Panasonic Diga DMR-E51 - About the FUNCTIONS Window; Checking the Recording During Recording (TIME SLIP); Using the FUNCTIONS Window; Watching the Television While Recording

Panasonic Diga DMR-E51
70 pages
Print Icon
To Next Page IconTo Next Page
To Next Page IconTo Next Page
To Previous Page IconTo Previous Page
To Previous Page IconTo Previous Page
Loading...
22
Playing while you are recording (continued)
Checking the recording during recording
(TIME SLIP)
[RAM]
You can play the programme being recorded to check that it is
being recorded correctly. You can also check parts that were
recorded previously.
Preparation
Switch [DVD, TV] (15) to “DVD”.
While recording or timer recording
Press [TIME SLIP] (25).
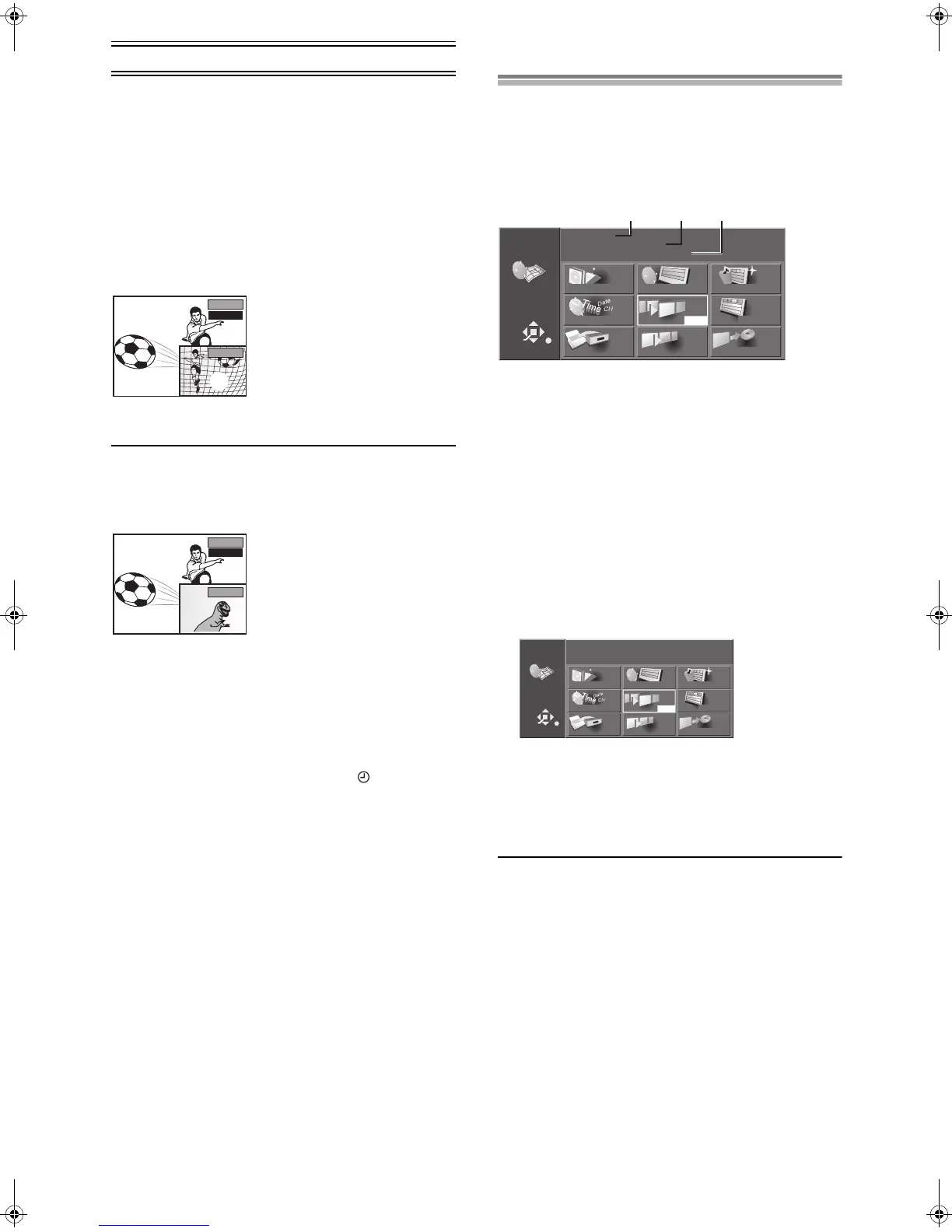
Play starts 30 seconds previous.
(1) Play images (30 seconds before)
(2) Current recording
ªTo change the part being played
Press [3, 4] (10) to enter the time.
Press [3] (10) to increase or [4] (10) to decrease in one-minute
units. Press and hold [3] (10) to increase or [4] (10) to
decrease in 10-minute units.
ªTo show the play images in full
Press [TIME SLIP] (25).
Press [TIME SLIP] (25) to return to the picture-in-picture screen.
ªTo stop play and recording
1) Press [] (7). Play stops.
2) (Wait 2 or more seconds)
Press [] (7). Recording stops.
You cannot stop recording with [] (7) during timer
recording. To stop timer recording, press [ , TIMER] (12).
For your reference
The sound for the images being played is heard during Time Slip.
While this function is activated, TIME SLIP indicator (41) lights
up.
The image on the small screen may be distorted or flicker
depending on the scene. However, this does not affect the image
recorded.
Watching the television while recording
Preparation
Switch [DVD, TV] (15) to “TV”.
1 Press [AV] (3) to change the input mode to “TV”.
2 Press [W, X, CH] (18) to change channels.
You can also select the channel with the numeric buttons (4).
For your reference
You can also do this if the unit is making a timer recording.
The recording is unaffected.
PLAY
REC
0 min
(1)
(2)
PLAY
REC
–5 min
Using the FUNCTIONS window
About the FUNCTIONS window
Most of the features and functions of this unit can also be
controlled with icons. The examples show the FUNCTIONS
window when a DVD-RAM is being used. Actual menus depend on
the type of disc being used.
Disc display
(1) Disc title
The disc’s title is displayed if one is recorded. You can enter
titles with Enter Title in DISC INFORMATION (page 29).
(2) Disc protection
“On” is displayed if you have used Disc Protection in DISC
INFORMATION to protect the disc (page 30).
(3) Cartridge Protection
“On” is displayed if the cartridge’s write protect tab is
switched to “PROTECT” (page 64).
Using the FUNCTIONS window
[RAM] [DVD-R] [DVD-V] [CD] [VCD] [MP3]
Preparation
Switch [DVD, TV] (15) to “DVD”.
1 While stopped
Press [FUNCTIONS] (11) to show the FUNCTIONS
window.
2 Use [3, 4, 2, 1] (10) to select an item.
Refer to the relevant pages for details.
3 Press [ENTER] (10).
Your selection is entered and the FUNCTIONS window
disappears. If the operation requires further selections,
another screen appears.
ªTo clear the FUNCTIONS window
Press [FUNCTIONS] (11) or [RETURN] (23).
N
S
N
S
Disc Protection
DIRECT NAVIGATOR
CREATE PLAY LIST
PLAY LIST
TIMER RECORDING
TOP PLAY
FLEXIBLE REC
Off
Cartridge Protection
Off
FUNCTIONS
SELECT
ENTER
RETURN
DISC INFORMATION
SETUP
DVD-RAM
PLAY
(1) (2) (3)
N
S
N
S
Disc Protection
DIRECT NAVIGATOR
CREATE PLAY LIST
PLAY LIST
TIMER RECORDING
TOP PLAY
FLEXIBLE REC
Off
Cartridge Protection
Off
FUNCTIONS
SELECT
ENTER
RETURN
DISC INFORMATION
SETUP
DVD-RAM
PLAY
DVD(PAL).book 22 ペー 003年5月22日 木曜日 午後12時3分

Table of Contents

Related product manuals