EasyManua.ls Logo

Panasonic DMR-EH65EE

Panasonic DMR-EH65EE
101 pages
To Next Page IconTo Next Page
To Next Page IconTo Next Page
To Previous Page IconTo Previous Page
To Previous Page IconTo Previous Page
Loading...
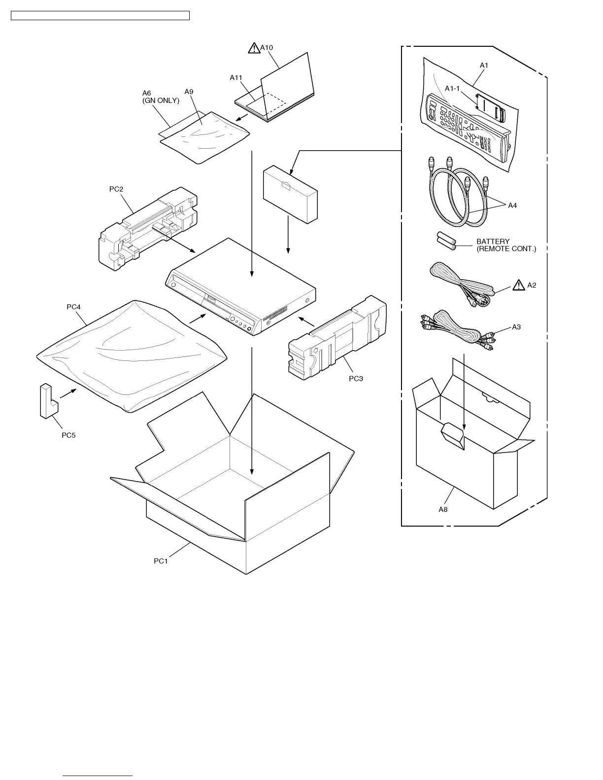
16.1.2. Packing & Accessories Section
92
DMR-EH65EE / DMR-EH65GC / DMR-EH65GCS / DMR-EH65GN

Table of Contents

Related product manuals