EasyManua.ls Logo

Panasonic DMR-EZ28P

Panasonic DMR-EZ28P
76 pages
To Next Page IconTo Next Page
To Next Page IconTo Next Page
To Previous Page IconTo Previous Page
To Previous Page IconTo Previous Page
Loading...
Item FL display Key operation
Mode name Description Front Key
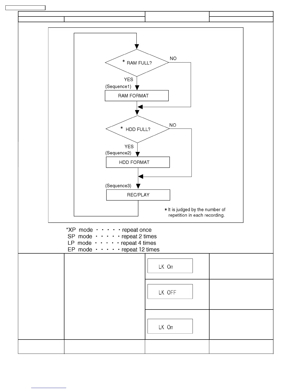
Aging Contents (Example):
Demonstration
lock/unlock
Ejection of the disc is prohibited.
The lock setting is effective until unlocking the
tray and not released by “Main unit
initialization” of service mode.
*When lock the tray.
“LOCK” is displayed for 3 seconds.
When the power is on, press
[STOP] and [POWER] keys
simultaneously for 5 seconds.
*When unlock the tray.
“UNLOCK” is displayed for 3
seconds.
When the power is on, press
[STOP] and [POWER] keys
simultaneously for 5 seconds.
*When press OPEN/CLOSE key
while the tray being locked.
Display “LOCK” for 3 seconds.
Press [OPEN/CLOSE] key while the
tray being locked.
ATP Initialization ATP setting and all parameters (including
clock) are initialized, and the unit turns off
automatically.
It is same with display in stop mode. When the power is on (E-E mode),
press [CH UP] and [CH DOWN]
simultaneously for 5 seconds.
18
DMR-EZ28P / DMR-EZ28PC

Table of Contents

Related product manuals