EasyManua.ls Logo

Panasonic FP-X0 L40MR - 6.3 Communication Specifications; Tool Port (Common to FP-X0)

Panasonic FP-X0 L40MR
290 pages
To Next Page IconTo Next Page
To Next Page IconTo Next Page
To Previous Page IconTo Previous Page
To Previous Page IconTo Previous Page
Loading...
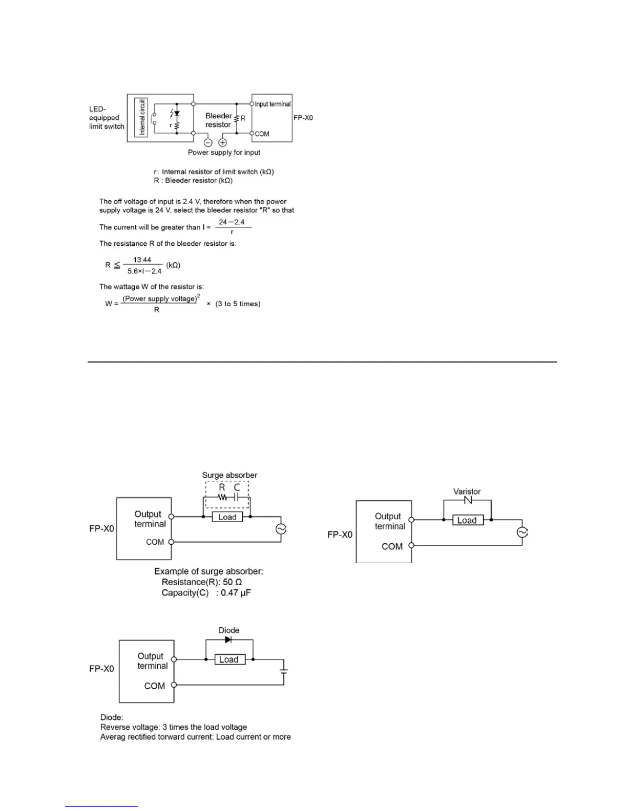
Precaution when using LED-equipped limit switch
If the input of PLC does not turn off because of
the leakage current from the LED-equipped limit
switch, the use of a bleeder resistor is
recommended, as shown below.
5.4.2 Output Wiring
Do not connect a load that exceeds the maximum swiching ability to the output terminal.
Protective circuit for inductive loads
With an inductive load, a protective circuit should be installed in parallel with the load.
When switching DC inductive loads with relay output type, be sure to connect a diod across the ends of
the load.
When using an AC inductive load
When using a DC inductive load
Phone: 800.894.0412 - Fax: 888.723.4773 - Web: www.clrwtr.com - Email: info@clrwtr.com

Table of Contents

Related product manuals