EasyManua.ls Logo

Panasonic GHP - Page 12

Panasonic GHP
68 pages
Print Icon
To Next Page IconTo Next Page
To Next Page IconTo Next Page
To Previous Page IconTo Previous Page
To Previous Page IconTo Previous Page
Loading...
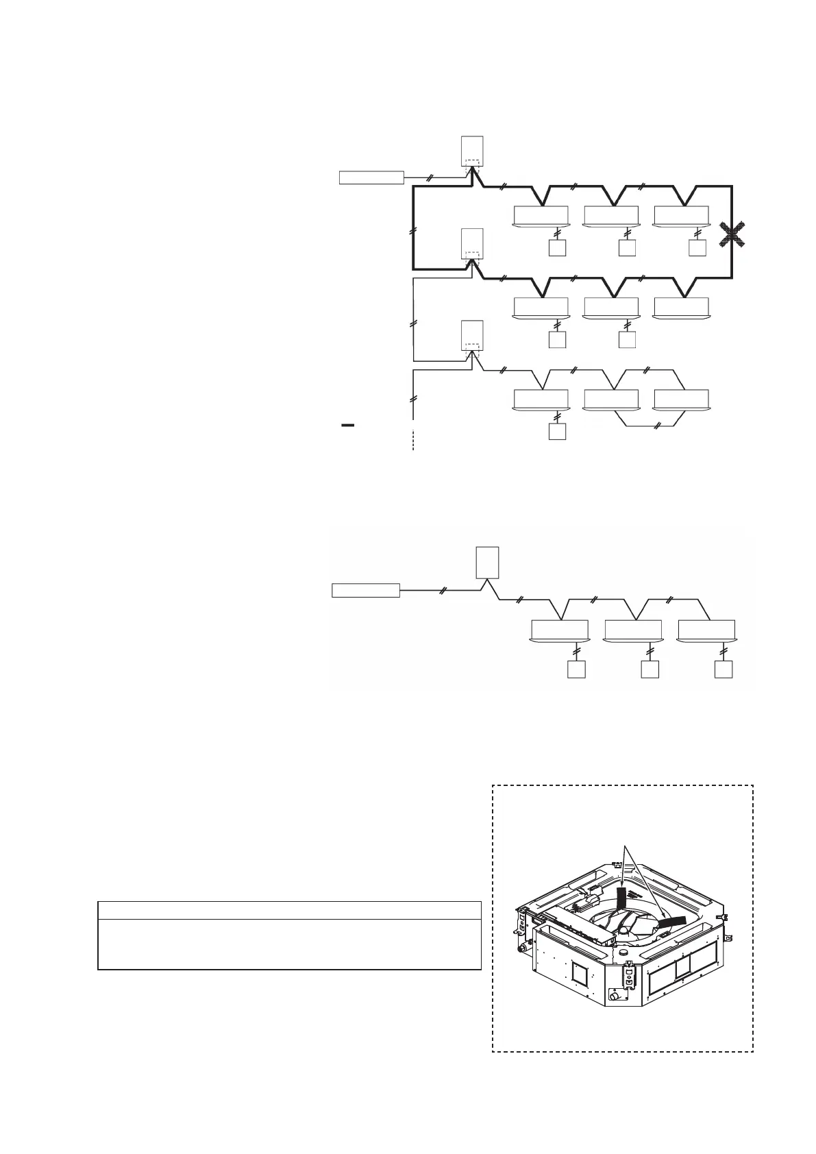
Loop wiring is prohibited. (Figure 10)
Example: As shown in the gure, do not have wiring where part of it is looped or the entire wiring is looped.
Daisy chain system (Figure 11)
Controller
Outdoor unit
Indoor unit
Remote controller
Indoor unit Indoor unit
Controller
Outdoor unit
Indoor unit
Remote controller
Outdoor unit
Outdoor unit
Indoor unit Indoor unit
Indoor unit Indoor unit Indoor unit
Indoor unit Indoor unit Indoor unit
Remote controller
Remote controller
No remote controller
Group control
Note: indicates the looped portion.
Figure 10
Figure 11
(5) Indoor unit check
Remove the securing part
When installing the 4-way ceiling cassette type, check that the
protective tapes has been removed. (Figure 12) removed.
For the ceiling suspended type or wall mounted type, check that
the part securing the auto ap has been removed.
Caution
Operating the indoor unit while a securing part is attached
may result in the generation of an abnormal noise, and the
operation of a protection device.
protective tapes (white)
Figure 12 Remove the protective tapes
9

Related product manuals