EasyManua.ls Logo

Panasonic HDC-HS9 - Manual Shutter Speed;Aperture Adjustment

Panasonic HDC-HS9
132 pages
Print Icon
To Next Page IconTo Next Page
To Next Page IconTo Next Page
To Previous Page IconTo Previous Page
To Previous Page IconTo Previous Page
Loading...
60
VQT1N87
Shutter Speed:
Adjust it when recording fast-moving subjects.
Aperture:
Adjust it when the screen is too bright or too dark.
Set the AUTO/MANUAL/FOCUS switch to MANUAL. (l 57)
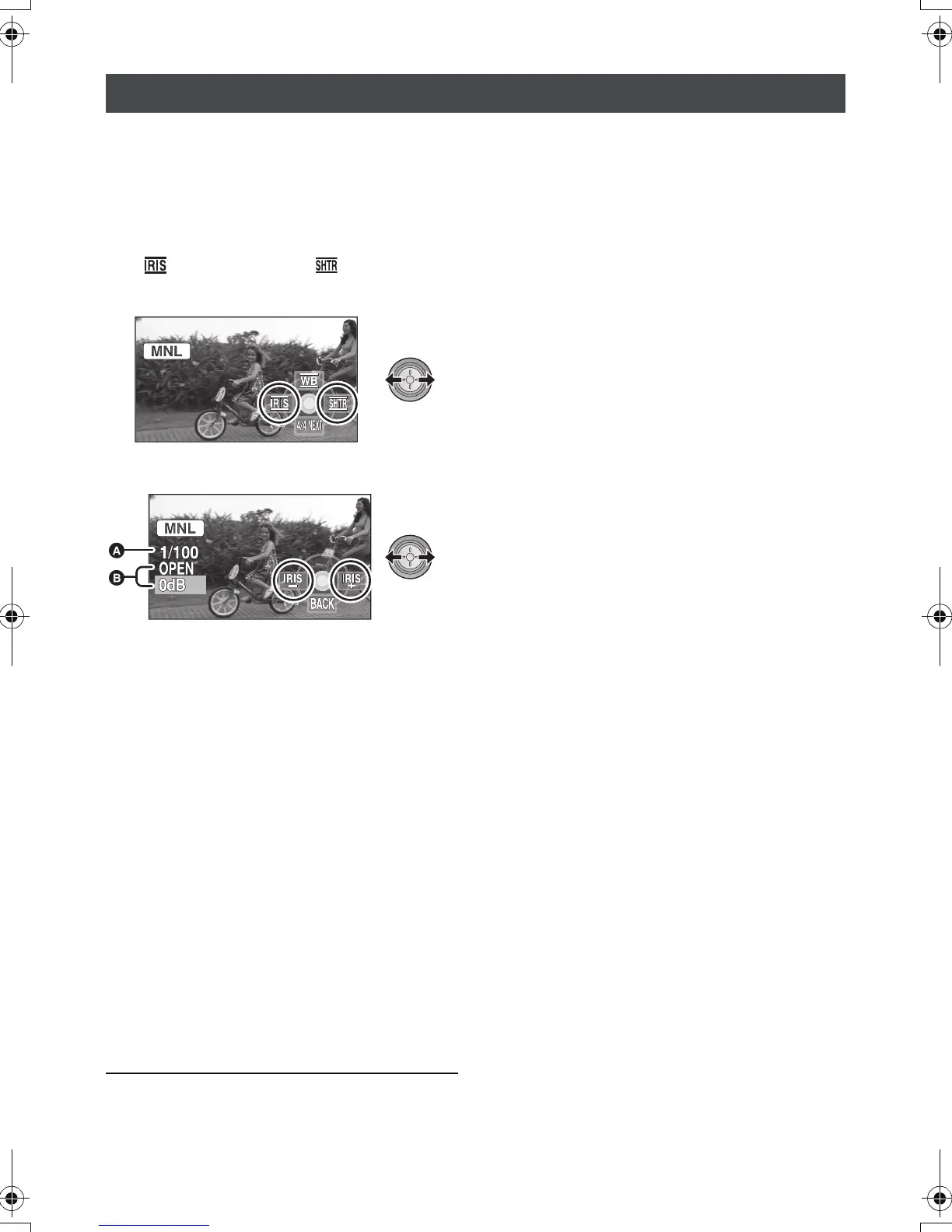
1 Move the cursor button to select
[ ] (aperture) or [ ] (shutter
speed).
2 Make the adjustment.
A Shutter speed:
1/25 to 1/8000
If [AUTO SLOW SHTR] is set to [OFF], the
shutter speed will be set between 1/50 and
1/8000.
If [25pDIGITAL CINEMA] is set to [ON], the
shutter speed will be set between 1/25 and
1/8000. (When [AUTO SLOW SHTR] is set to
[OFF], the range is 1/50 to 1/8000.)
The shutter speed closer to 1/8000 is faster.
B Iris/Gain value:
CLOSE # (F16 to F2.0) # OPEN # (0dB to
18dB)
Value closer to [CLOSE] darken the image.
Value closer to [18dB] brighten the image.
When the iris value is adjusted to brighter than
[OPEN], it changes to the gain value.
Set the AUTO/MANUAL/FOCUS switch to
AUTO to restore to automatic adjustment.
When setting both the shutter speed and the
iris/gain value, set the shutter speed and then
set the iris/gain value.
Manual shutter speed adjustment
Avoid recording under fluorescent light,
mercury light or sodium light because the
colour and brightness of the playback image
may change.
If you increase the shutter speed manually, the
noise on the screen may increase.
You may see vertical lines of light in the
playback image of a brightly shining subject or
highly reflective subject, but this is not a
malfunction.
During normal playback, image movement
may not look smooth.
When recording in an extremely bright place,
the screen may change colour or flicker. If so
adjust the shutter speed manually to [1/50] or
[1/100].
Manual iris/gain adjustment
If the gain value is increased, the noise on the
screen increases.
Depending on the zoom magnification, there
are iris values that are not displayed.
Manual shutter speed/aperture adjustment
HDCHS9EP-VQT1N87_eng.book 60 ージ 2008年1月11日 金曜日 午後7時52

Table of Contents

Other manuals for Panasonic HDC-HS9

Related product manuals