EasyManua.ls Logo

Panasonic HYBRID IP-PBX KX-TDA100 - Answering Call Waiting from the Telephone Company

Panasonic HYBRID IP-PBX KX-TDA100
232 pages
To Next Page IconTo Next Page
To Next Page IconTo Next Page
To Previous Page IconTo Previous Page
To Previous Page IconTo Previous Page
Loading...
1.4 During a Conversation
User Manual 71
Answering Call Waiting from the Telephone Company
This is an optional telephone company service. You can receive a call waiting tone and the caller's
information. For details, consult your telephone company.
To return to the original party, repeat the operation.
In this case, the FLASH/RECALL button on proprietary telephones must be in External
Feature Access (EFA) mode. For information about setting the mode of your FLASH/RECALL
button, consult your dealer.
Customising Your Phone
3.1.3 Customising the Buttons
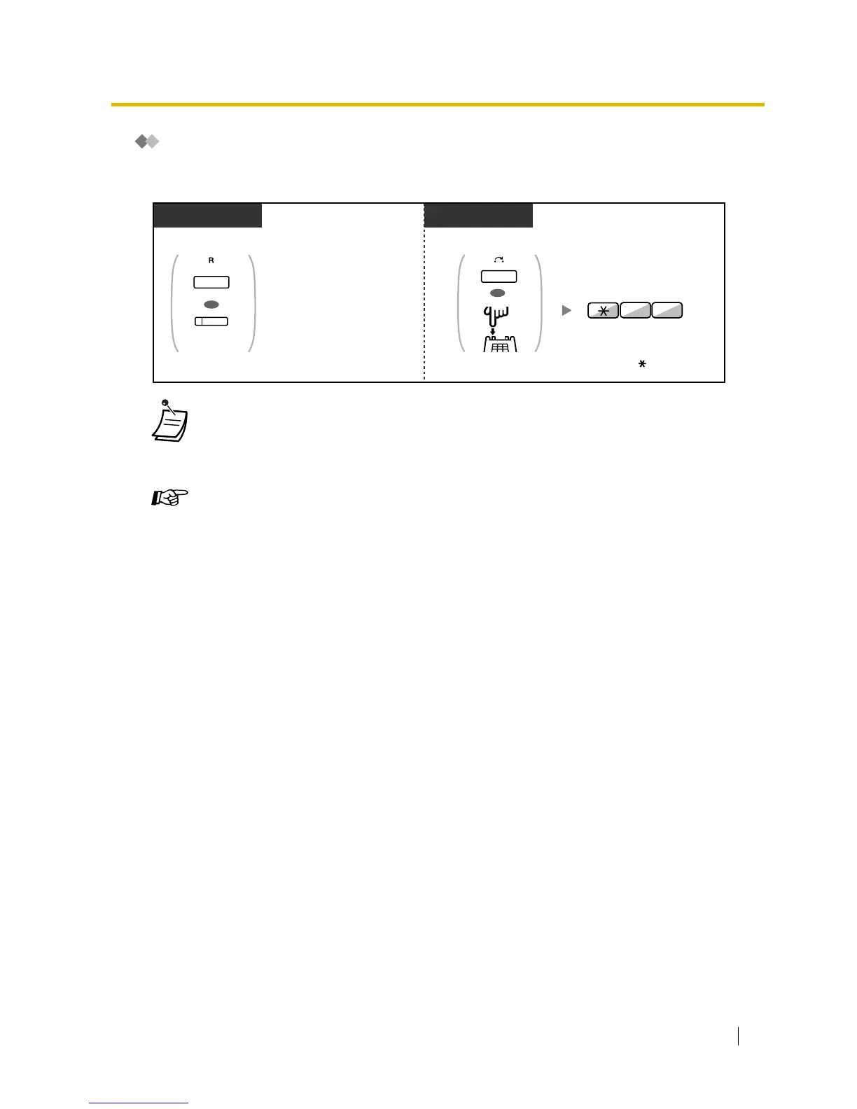
Create or edit an External Feature Access (EFA) button.
While hearing a tone
PT/PS
While hearing a tone
PT/SLT/PS
Press
FLASH/RECALL
or
EFA
.
Enter
60
.
6 0
Press
TRANSFER
or
Recall/hookswitch
.
OR
OR
TRANSFER
FLASH/
RECALL
OR
(EFA)

Table of Contents

Related product manuals