EasyManua.ls Logo

Panasonic KX-TDA15 - Page 199

Panasonic KX-TDA15
232 pages
To Next Page IconTo Next Page
To Next Page IconTo Next Page
To Previous Page IconTo Previous Page
To Previous Page IconTo Previous Page
Loading...
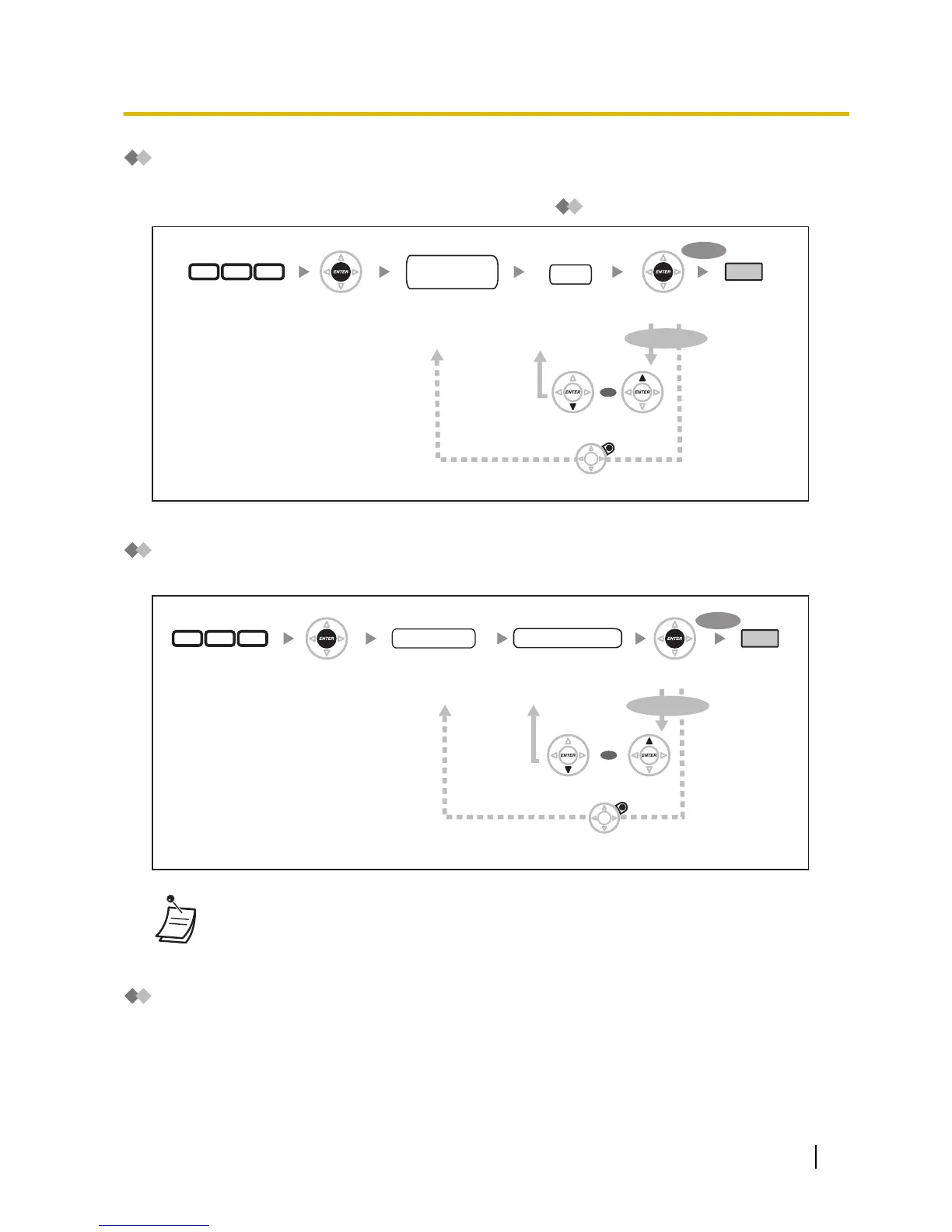
System Speed Dialling Name [002]
You
can store the name associated with the speed dialling number. These names are displayed when making
calls using the display operation. To enter characters, refer to "
Entering Characters".
Press ENTER.Enter 002. Press ENTER.Enter system
speed dialling
number (3 digits).
Press END.
Press CANCEL.
Press NEXT. Press PREV.
To continue
To end
0 0 2
Enter name
(max. 20
characters).
name
system speed
dialling no.
OR
Extension Number [003]
You can assign an extension number to each extension.
Press ENTER.Enter 003. Press ENTER. Press END.Enter new
extension number.
new extension no.
Press CANCEL.
Press NEXT.
Press PREV.
To continue
To end
0 0 3
Enter extension
number.
extension no.
OR
The
leading number(s) should be the same as the number(s) assigned for Flexible Numbering.
A duplicate entry is invalid.
Extension Name [004]
You
can store the name of an extension user. This is useful if you want to know who is calling, or who you are
calling when making an intercom call using the directory.
User Manual 199
3.3.2 System Programming

Table of Contents

Other manuals for Panasonic KX-TDA15

Related product manuals