EasyManua.ls Logo

Panasonic KX-TEA308CE - Cross Point Switch Circuit

Panasonic KX-TEA308CE
137 pages
Print Icon
To Next Page IconTo Next Page
To Next Page IconTo Next Page
To Previous Page IconTo Previous Page
To Previous Page IconTo Previous Page
Loading...
11.3. CROSS POINT SWITCH CIRCUIT
11.3.1. Composition
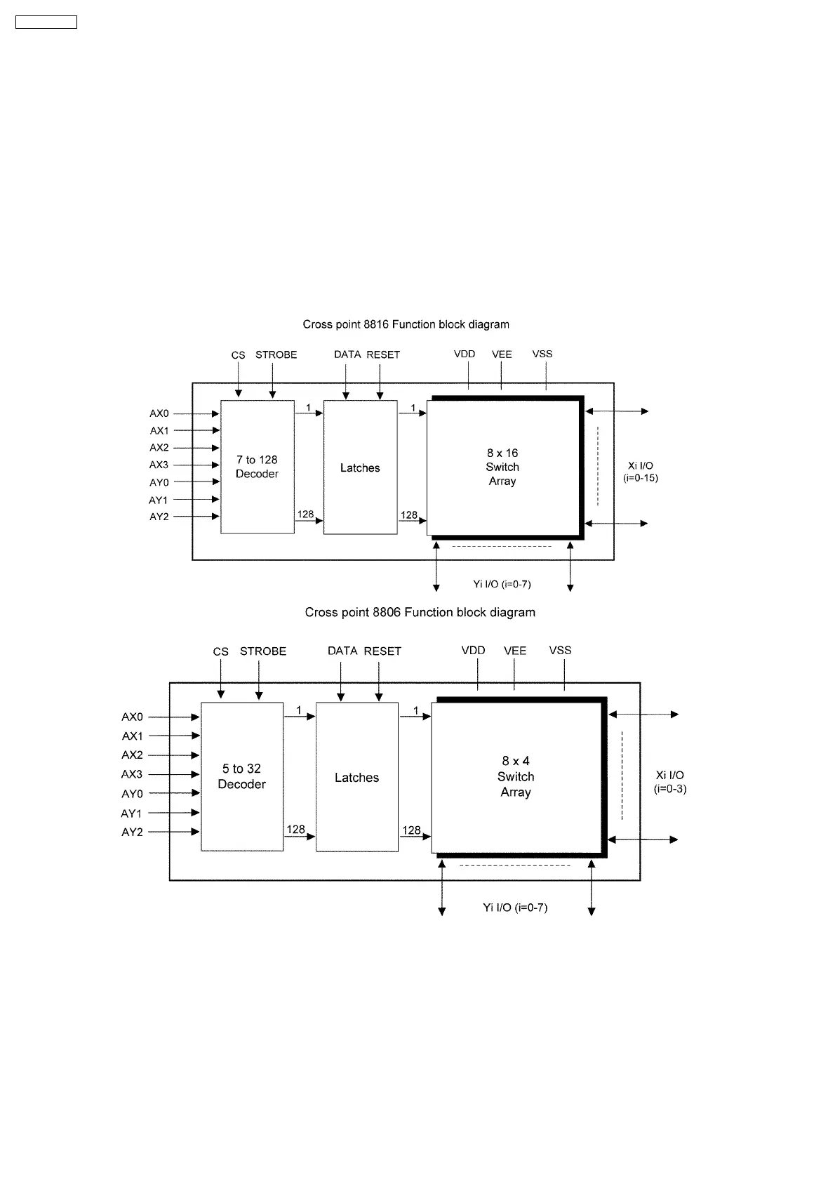
The cross point circuit composed of three cross point switch IC´s (IC601:8X16, IC602 and IC603:4X8).
1) Cross Point Switch IC Operation
The cross point SW (IC601) contains a 8X16 array of cross point switches along with a 7 to 128 line decoder and latch circuits.
Any one of the 128 switches can be addressed by selecting appropriate seven address bits. The selected switch can be turned
on or off by applying either logical one or zero to the DATA input. Chip select allows the cross point array to be cascaded for
matrix expansion.
The cross point SW´s (IC602, IC603) contain 4X8 array of cross point switches along with a 5 to 32 line decoder and latch
circuits. Any one of the 32 switches can be addressed by selecting appropriate five address bits. The selected switch can be
turned on or off by applying either logical one or zero to the DATA input. Chip select allows the cross point array to be cascaded
for matrix expansion.
26
KX-TEA308CE

Table of Contents

Related product manuals