EasyManua.ls Logo

Panasonic KX-TEA308CE - Usb Interface Circuit; Ogm Interface Circuit

Panasonic KX-TEA308CE
137 pages
Print Icon
To Next Page IconTo Next Page
To Next Page IconTo Next Page
To Previous Page IconTo Previous Page
To Previous Page IconTo Previous Page
Loading...
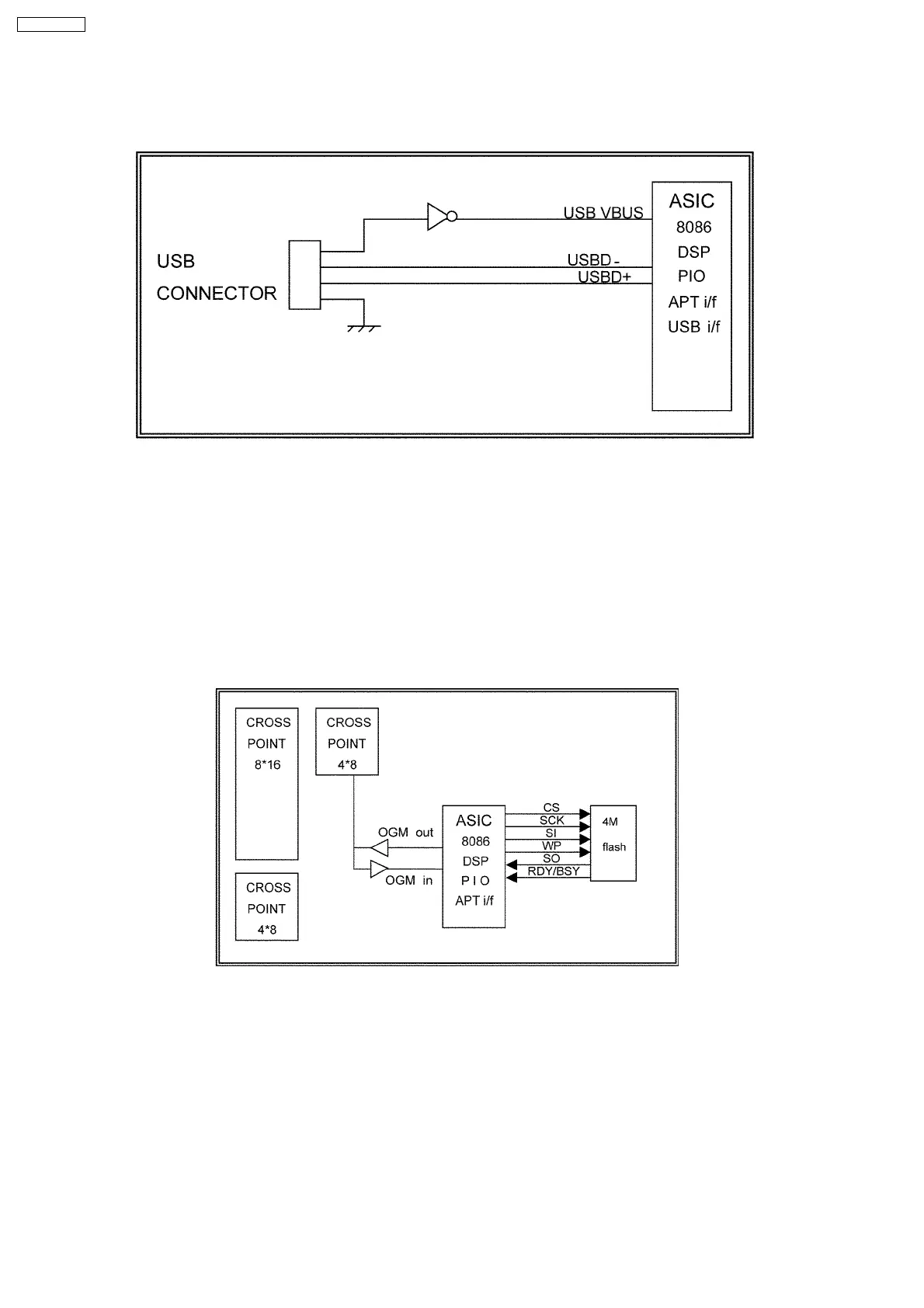
11.13. USB INTERFACE CIRCUIT
This unit have one USB port for using PC programming. ASIC have USB 1.1 controller inside, so this unit make up USB interface
only ASIC and USB connector.
11.14. OGM INTERFACE CIRCUIT
The TEA308 model incorporates the functions of OGM, CNG and DTMF detection. At the OGM recording, it changes the analog
sound in the DSP of the ASIC into a digital signal of 16bits by A/D conversion. Then, the data is compressed (encoded) and stored
in a 4M serial flash. Conversely, when being recovered the data stored in the 4M serial flash are decompressed to 16-bit digital
data, and then reproduced as an analog sound after the D/A conversion. The recording/reproducing is achieved by connecting the
path from external line through the cross point to the ASIC.The waveform coding method used at the recording/reproducing stage
is the LD-ADPCM method. The DSP compresses the sound and stores the 4M serial flash using the memory management
software in the DSP. The unit has the recording/reproducing function of 1CH as an initial mounting.The recording time of the OGM
is three minutes at maximum.
Also, the CNG and DTMF detection are the functions operated in conjunction with the OGM and realized by the DSP in the ASIC.
34
KX-TEA308CE

Table of Contents

Related product manuals