EasyManua.ls Logo

Panasonic KX-TEA308CE - Ringing Signal Generator Circuit; Smdr Interface Circuit

Panasonic KX-TEA308CE
137 pages
Print Icon
To Next Page IconTo Next Page
To Next Page IconTo Next Page
To Previous Page IconTo Previous Page
To Previous Page IconTo Previous Page
Loading...
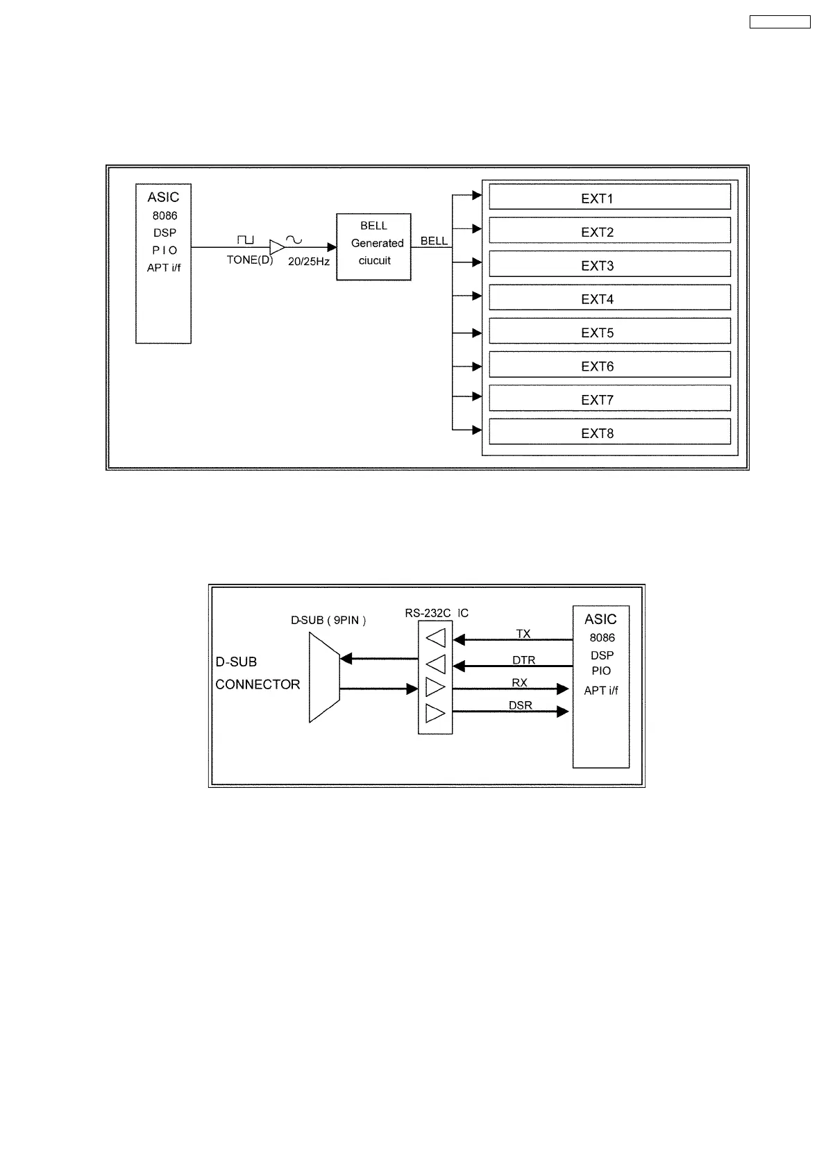
11.15. RINGING SIGNAL GENERATOR CIRCUIT
This section generates the ring signal for the single line telephone. A 20/25Hz square wave is generated by the CPU timer and sent
to low pass filter and the Ring signal is amplified by BELL amplifier circuit, and then passed it through the ringing signal switching
relay to the single line telephone.
11.16. SMDR INTERFACE CIRCUIT
This is the RS-232C interface port. When the port is connected to a printer, the port can be used to output the SMDR feature
recording messages and the contents of the system program.
35
KX-TEA308CE

Table of Contents

Related product manuals