EasyManua.ls Logo

Panasonic KX-TG2360JX - Page 59

Panasonic KX-TG2360JX
109 pages
To Next Page IconTo Next Page
To Next Page IconTo Next Page
To Previous Page IconTo Previous Page
To Previous Page IconTo Previous Page
Loading...
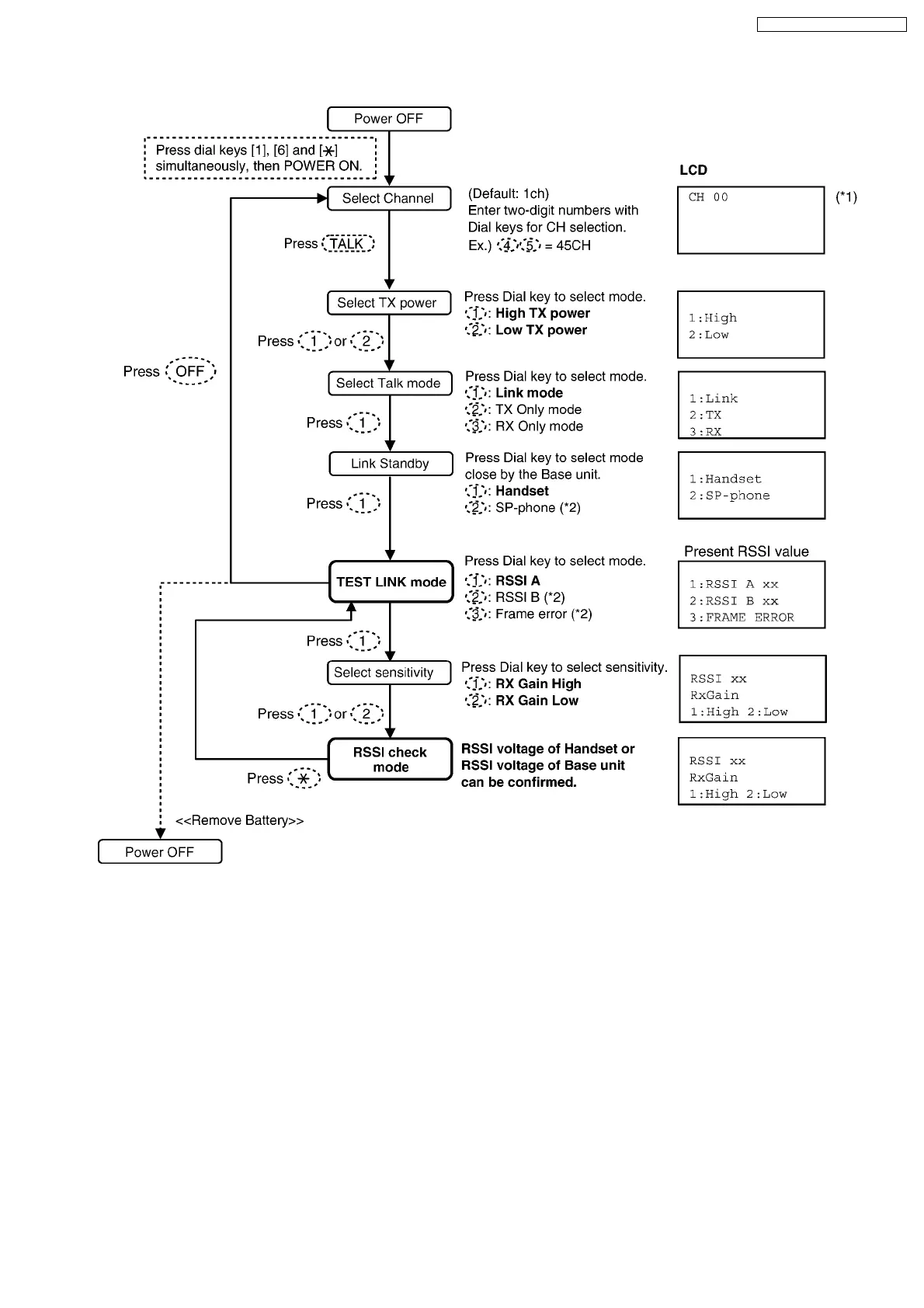
13.2.3. Test Link Mode
Note:
(*1) LCD displays the Channel number.
(exception: default/ CH00 = 1ch.)
(*2) for factory use only.
59
KX-TG2360JXS / KX-TGA236JXS

Table of Contents

Related product manuals