EasyManua.ls Logo

Panasonic KX-TG2360JX

Panasonic KX-TG2360JX
109 pages
To Next Page IconTo Next Page
To Next Page IconTo Next Page
To Previous Page IconTo Previous Page
To Previous Page IconTo Previous Page
Loading...
17.9. Calling Line Identification (Caller ID)
Function:
The caller ID is a chargeable ID which the user of a telephone circuit obtains by entering a contract with the telephone company
to utilize a caller ID service. For this reason, the operation of this circuit assumes that a caller ID service contract has been entered
for the circuit being used.
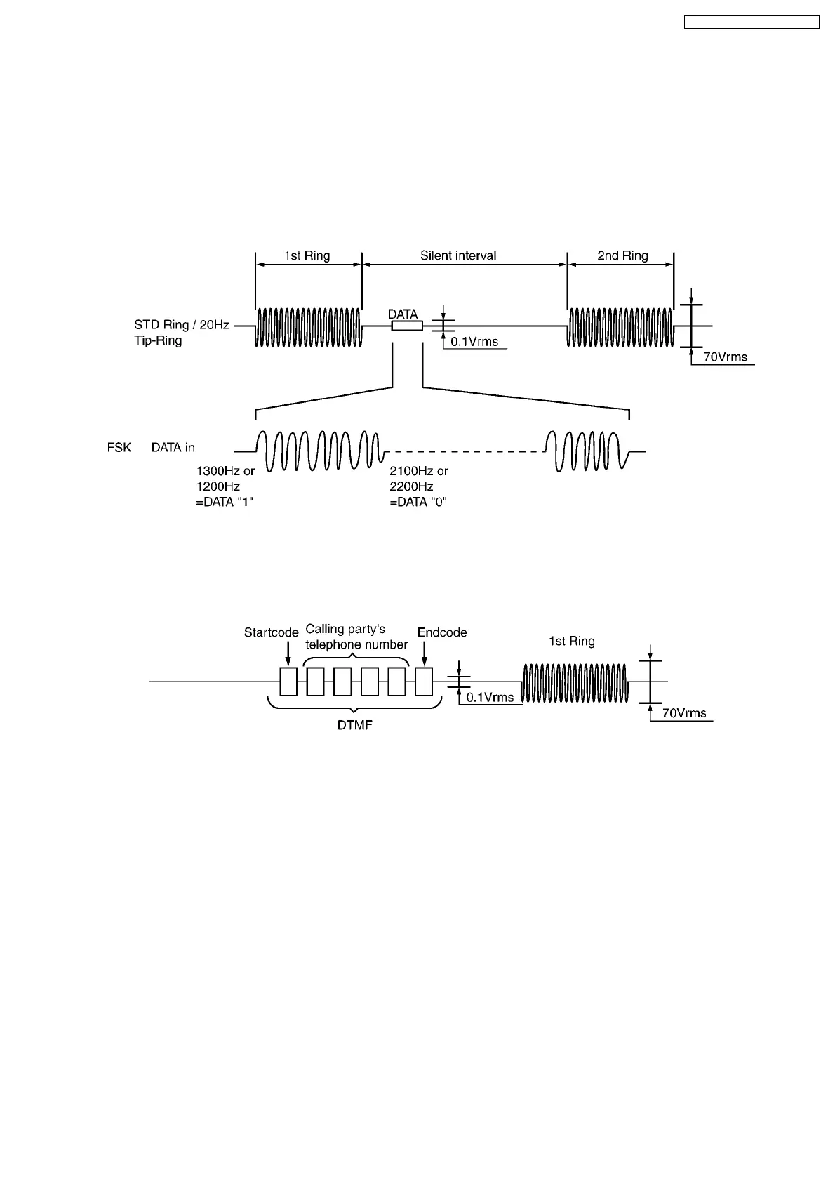
The Caller-ID data from exchange is supplied to the telephone using either method of FSK or DTMF. The method is chosen
according to the exchange of telephone office. This unit is available to receive the data with both methods and displays the received
dataonLCD.
·
FSK (Frequency Shift Keying) format
·
DTMF format
It is the method to send the telephone number of calling party with DTMF to the telephone. DTMF is sent before the first bell signal.
The data is sent in turn; first the start code, secondly the telephone number of calling party, lastly end code.
The DTMF is chosen from A (1633Hz and 697Hz), B (1633Hz and 770Hz), C (1633Hz and 852Hz) and D (1633Hz aand 941Hz)
as the start code and end code acording to the exchange.
79
KX-TG2360JXS / KX-TGA236JXS

Table of Contents

Related product manuals