EasyManua.ls Logo

Panasonic KXA142EXS - Pin Code

Panasonic KXA142EXS
124 pages
Print Icon
To Next Page IconTo Next Page
To Next Page IconTo Next Page
To Previous Page IconTo Previous Page
To Previous Page IconTo Previous Page
Loading...
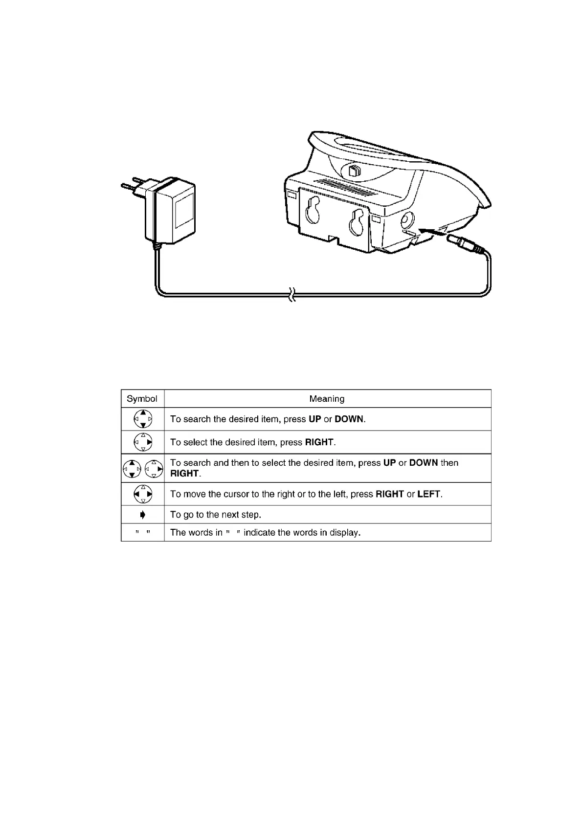
6.1.2. Charger Unit
The AC adaptor must remain connected at all times (It is normal for the adaptor to feel warm
during use).
6.2. Symbols Used in This Service Manual
6.3. PIN Code
6.3.1. Base Unit
9
www.freeservicemanuals.info
1/2/2015
Digitized in Heiloo, Holland

Related product manuals