EasyManua.ls Logo

Panasonic MCDLN35BL - Wiring to Connector; Control Input

Panasonic MCDLN35BL
111 pages
Print Icon
To Next Page IconTo Next Page
To Next Page IconTo Next Page
To Previous Page IconTo Previous Page
To Previous Page IconTo Previous Page
Loading...
No. SX-DSV03335 - 64-
R2.0 Industrial Device Solution Business Unit, Panasonic Corporation
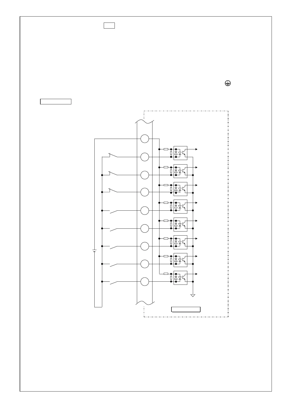
8-3-2 Wiring to connector X4
[1] The customer is required to prepare the 12 to 24 VDC control signal power supply for external control to be
connected to SI-COM. Insulation is needed against the primary side power supply (power supply of the motor
brake).
Do not connect to the same power supply.
[2] Install peripheral devices close to the servo driver as much as possible so that wiring length is minimized (within 3
m).
[3] Keep the cables away from the wiring of the power lines (L1, L2, L3, L1C, L2C, U, V, W, ) as much as
possible (at least 30 cm). Do not put them in the same duct or bind them together.
Control input
The functions of SI1 to SI8 are assigned with parameters.
For details, refer to "Technical Reference -Functional Specification-".
4.7
1
4.7
1
4.7
1
4.7
1
4.7
1
4.7
1
4.7
1
Servo Driver
DC 1224 V
SI-COM
SI1
SI2
SI3
SI5
SI6
SI7
SI4
6
X4
SI8
4.7
1
5
7
9
8
11
12
10
13
DC 12-24 V
Servo Driver

Table of Contents

Related product manuals